Zurück zu
>
Mäher
>
Benzin
>
Antrieb ab 43 cm
>
Power Edition
>
Power Edition 46 KA ( 2005 / 4616000-A )
>
FJ 180 V ( 2005 / 2094000- )
>
Vergaser (2094000-2005-3)
Ersatzteillisten für Wolf Mäher Vergaser (2094000-2005-3)
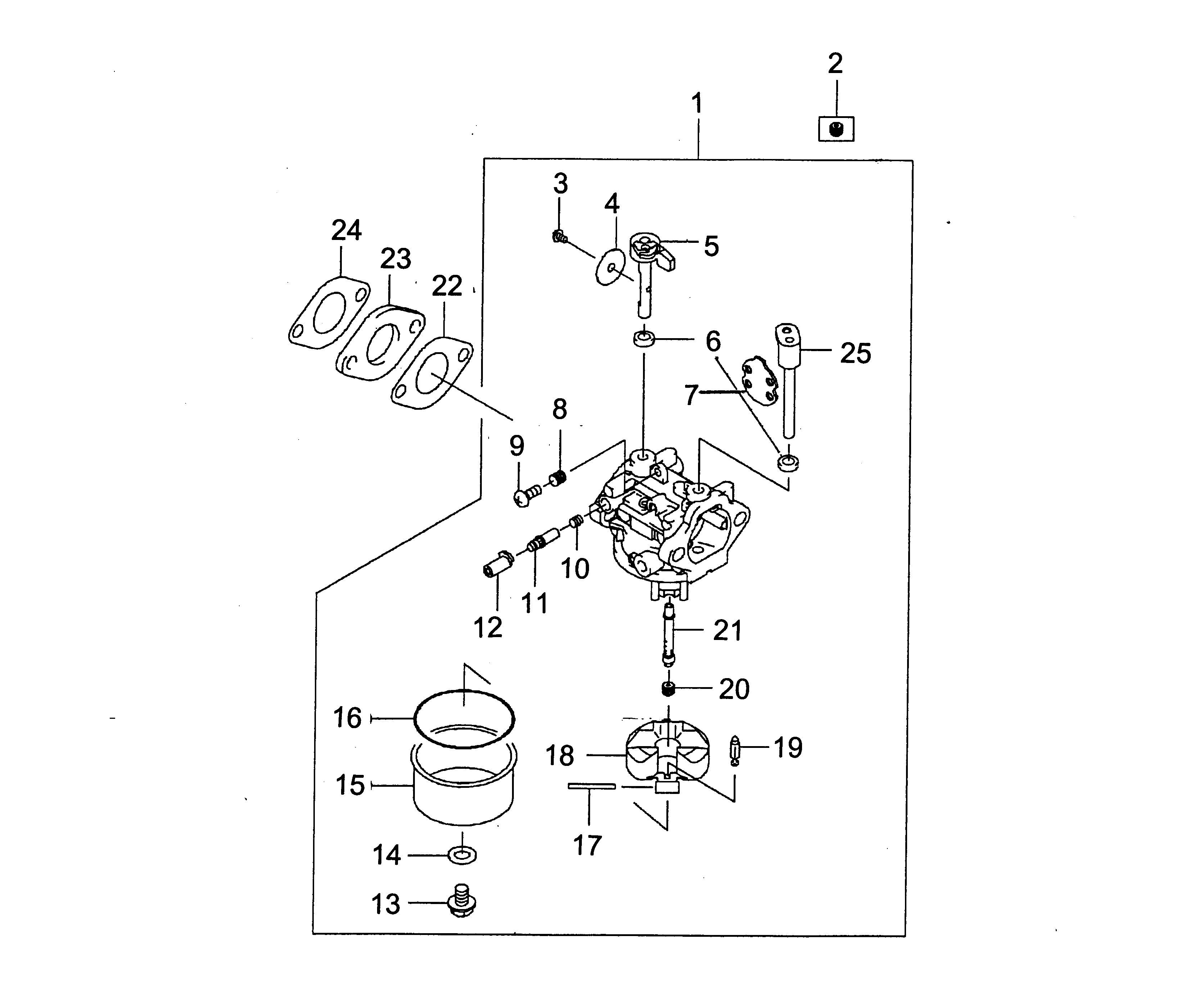
Pos.
Bezeichnung
Ersatzteilnummer
1
Vergaser kpl.
2094 171
2
Düse
2094 186
3
Schraube
2094 180
4
Drosselklappe
2094 174
5
Drosselklappenwelle
2094 175
6
Feder
2096 318
7
Schokerklappe
2094 178
8
Feder
2094 183
9
Schraube
2094 181
10
Feder
2094 184
11
Schraube
2094 172
12
Drehzahlbegrenzer
2094 205
13
Schraube
2094 185
14
Dichtring
2094 310
15
Schwimmergehäuse
2094 173
16
Dichtung
2096 351
17
Stift
2094 170
18
Schwimmer
2096 116
19
Nadelventil
2096 115
21
Stutzen
2094 179
22
Dichtung
2094 169
23
Isolator
2094 177
24
Dichtung
2094 169
25
Schokerklappenwelle
2094 176
Gebrauchsanweisungen
Wolf
Handgeräte
Heckenscheren
Universalscheren
Handgrasscheren
Astscheren
Baumscheren
Baumpflege
Beleuchtungssysteme
Accuscheren
Häcksler
Sägen
Trimmer
Spindelmäher
Streuwagen / Portax
Schlauchwagen
Vertikutierer / Lüfter / Aerifizierer
Mäher
Accu
Benzin
Schiebe bis 42 cm
Schiebe ab 43 cm
Antrieb bis 42 cm
Antrieb ab 43 cm
2er
4er
6er
Moto-Verte
Concept
Premio
Power Edition
Power Edition 46 HA ( 2001 / 4615005-A )
Power Edition 46 HA ( 2003 / 4615005-B )
Power Edition 46 HA ( 2004 / 4615005-C, D )
Power Edition 46 TMA ( 2005 / 4618000-D )
Power Edition 46 KA ( 2005 / 4616000-A )
Datenblatt (4616000a-2005-1)
Chassis (4616000a-2005-2)
Achse, Räder, Höhenverstellung (4616000a-2005-3)
Griff kpl. (4616000a-2005-4)
Motor, Messer (4616000a-2005-5)
Fangsack (4048000a-2006-6)
MK 40 (4011 075) Mulchkit (Mulchkit)
FJ 180 V ( 2005 / 2094000- )
Kurbelgehäuse (2094000-2005-1)
Kolben, Kurbelwelle, Ventile, (2094000-2005-2)
Vergaser (2094000-2005-3)
Regelung (2094000-2005-4)
Tank, Lüfterhaube, (2094000-2005-5)
Luftfilter, Schalldämpfer, Bremse, (2094000-2005-6)
Zündanlage, Starter (2094000-2005-7)
Esprit
Sonstige
Elektrostart / Touch&Mow
Elektro
Aufsitzmäher
Benzinmotoren
Zubehör
Impressum
(C) by motoruf