Zurück zu
>
Mäher
>
Benzin
>
Antrieb ab 43 cm
>
Power Edition
>
Power Edition 46 KA ( 2005 / 4616000-A )
>
FJ 180 V ( 2005 / 2094000- )
>
Regelung (2094000-2005-4)
Ersatzteillisten für Wolf Mäher Regelung (2094000-2005-4)
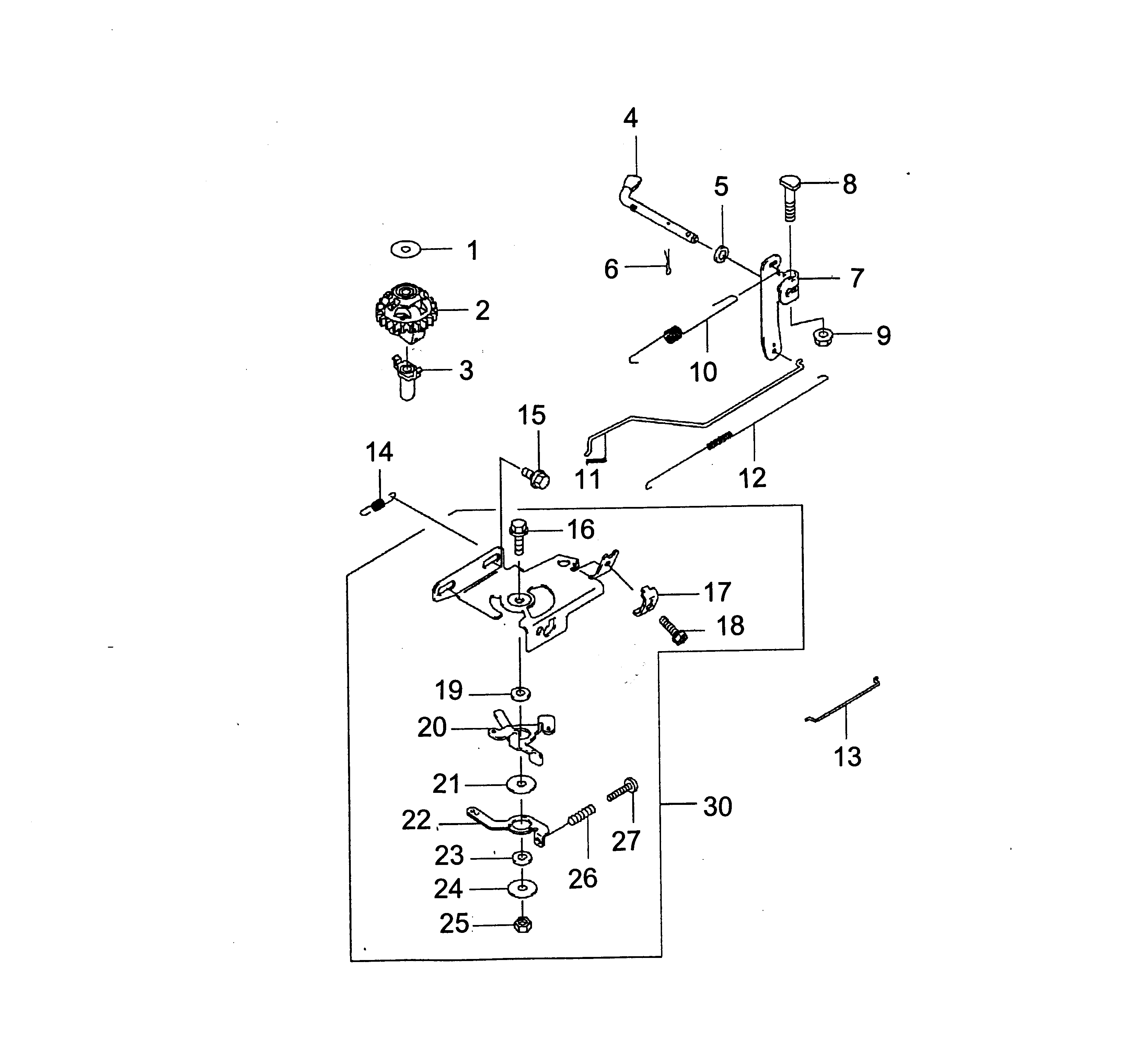
Pos.
Bezeichnung
Ersatzteilnummer
1
Scheibe
2094 166
2
Reglerverzahnung
2094 165
3
Reglerspule
2096 545
4
Reglerhebel
2094 161
5
Scheibe
2095 338
6
Klemmstift
2090 337
7
Reglerhalter
2094 164
8
Schraube
2090 333
9
Mutter
2095 602
10
Vollgasfeder
2094 162
11
Reglergestänge
2094 212
12
Leerlauffeder
2094 167
13
Gestänge
2094 159
14
Feder
2094 168
15
Schraube
2090 116
16
Schraube
2094 156
17
Klammer
2096 569
18
Schraube
2096 580
19
Muffe
2090 325
20
Hebel
2094 157
21
Scheibe
2096 205
22
Hebel
2094 158
23
Muffe
2090 325
24
Scheibe
2096 205
25
Mutter
2096 561
26
Feder
2095 323
27
Schraube
2090 324
30
Reglerplatte kpl.
2094 163
Gebrauchsanweisungen
Wolf
Handgeräte
Heckenscheren
Universalscheren
Handgrasscheren
Astscheren
Baumscheren
Baumpflege
Beleuchtungssysteme
Accuscheren
Häcksler
Sägen
Trimmer
Spindelmäher
Streuwagen / Portax
Schlauchwagen
Vertikutierer / Lüfter / Aerifizierer
Mäher
Accu
Benzin
Schiebe bis 42 cm
Schiebe ab 43 cm
Antrieb bis 42 cm
Antrieb ab 43 cm
2er
4er
6er
Moto-Verte
Concept
Premio
Power Edition
Power Edition 46 HA ( 2001 / 4615005-A )
Power Edition 46 HA ( 2003 / 4615005-B )
Power Edition 46 HA ( 2004 / 4615005-C, D )
Power Edition 46 TMA ( 2005 / 4618000-D )
Power Edition 46 KA ( 2005 / 4616000-A )
Datenblatt (4616000a-2005-1)
Chassis (4616000a-2005-2)
Achse, Räder, Höhenverstellung (4616000a-2005-3)
Griff kpl. (4616000a-2005-4)
Motor, Messer (4616000a-2005-5)
Fangsack (4048000a-2006-6)
MK 40 (4011 075) Mulchkit (Mulchkit)
FJ 180 V ( 2005 / 2094000- )
Kurbelgehäuse (2094000-2005-1)
Kolben, Kurbelwelle, Ventile, (2094000-2005-2)
Vergaser (2094000-2005-3)
Regelung (2094000-2005-4)
Tank, Lüfterhaube, (2094000-2005-5)
Luftfilter, Schalldämpfer, Bremse, (2094000-2005-6)
Zündanlage, Starter (2094000-2005-7)
Esprit
Sonstige
Elektrostart / Touch&Mow
Elektro
Aufsitzmäher
Benzinmotoren
Zubehör
Impressum
(C) by motoruf