Zurück zu
>
Roth / TORO
>
Aufsitzmäher
>
Traktor
>
520 Lxi
>
521/73546
>
8900001
>
Vergaser
Ersatzteillisten für Toro Roth / TORO Vergaser
Pos.
Bezeichnung
Ersatzteilnummer
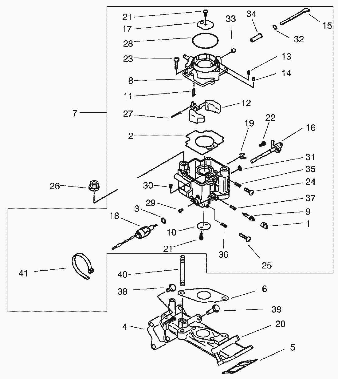
1
Cap
95-9857
2
Dichtung
95-9858
3
Dichtung
95-9859
4
Dichtung
95-9860
5
Dichtung
95-9861
6
Dichtung
95-9862
7
Vergaser
98-7366
8
Cap-Chamber
95-9864
9
Schraube
95-9865
10
Drosselklappe
95-9866
11
Schwimmerventil
95-9867
12
Schwimmer
95-9868
13
Duese
95-9869
14
Duese
95-9870
15
Chokwelle
95-9871
16
Drosselachse
98-7367
17
Valve
95-9873
18
Magnetventil
95-9874
19
Stopper
95-9875
20
Manifold-Intake
95-9876
21
Screw
95-9877
22
Screw
95-9878
23
Screw
95-9879
24
Screw
95-9880
25
Screw
95-9881
26
Nut
Kw10621
27
Schwimmerstift
95-9883
28
O.Ring
95-9972
29
Duese
95-9884
30
Duese
95-9885
31
Dichtring
95-9886
32
Dichtring
95-9887
33
Buechse
95-9888
34
Buechse
95-9889
35
Druckfeder
95-9890
36
Druckfeder
95-9891
37
Druckfeder
95-9892
38
Bolt-Flanged
95-9893
39
Bolt-Flanged
95-9894
40
Bolt-Stud
95-9895
41
Clamp
98-7368
Gebrauchsanweisungen
Toro
Roth / TORO
Aufsitzmäher
Traktor
264-6
246 HE
244-5
212-H
212-5
17-44 HXLE
16-44 HXL
16-38 HXL
16-38 XLE
15-44 HXL
15-38 HXL
14-38 HXL
14-38 XL
13-38 HXL
13-38 XL
13-32 XLE
12-38 HXL
12-38 XL
12-32 XL
264 H
265 H
267 H
268 H
270 H
520 xi
520 Lxi
521/73546
8900001
Stoßfänger & Haube
Lenksäule & Kraftstofftank
'Attach a matic' -Aufhängung
Servolenkung unten
Servolenkung & Kippen
Befestigungen, Spindel & Vorderachse
Hydraulik Getriebeachse
Hydraulik Getriebeachse (Fortsetzung)
Antriebswelle
Hydro-Aushebung - untere Gruppe
Hydro-Aushebung - obere Gruppe
Haube & Scheinwerfer
Grill & Seitenverkleidung
Armaturenbrett
Kotflügel, Fußauflage & Sitz
Kotflügel, Fußauflage & Sitz (Fortsetzung)
Lenkeinrichtung
Umschaltung
Feststellbremse
Hydraulikbetätigungen
Lenkeinrichtung
Feststellbremse unten
Tempomat Betätigung
Kotflügel & Kraftstoffsystem
Rad
Wassergekühlter Benzinmotor
Wassergekühlter Benzinmotor (Fortsetzung)
Elektrik
Getriebe
Kurbelgehäuse
Kolben & Kurbelwelle
Ventil/Nockenwelle
Ölpumpe & Filter
Wasserpumpe
Elektrik
Regler
Vergaser
Luftfilter
Kraftstoffpumpe & Filter
Starter
521/73580
523 Dxi
Rider
Mähwerke
Zubehör
Handgeräte
Robin
Impressum
(C) by motoruf