Zurück zu
>
Roth / TORO
>
Handgeräte
>
Schneefräsen
>
zweistufig
>
828 PowerShift
>
629/38574
>
1000001
>
Holm
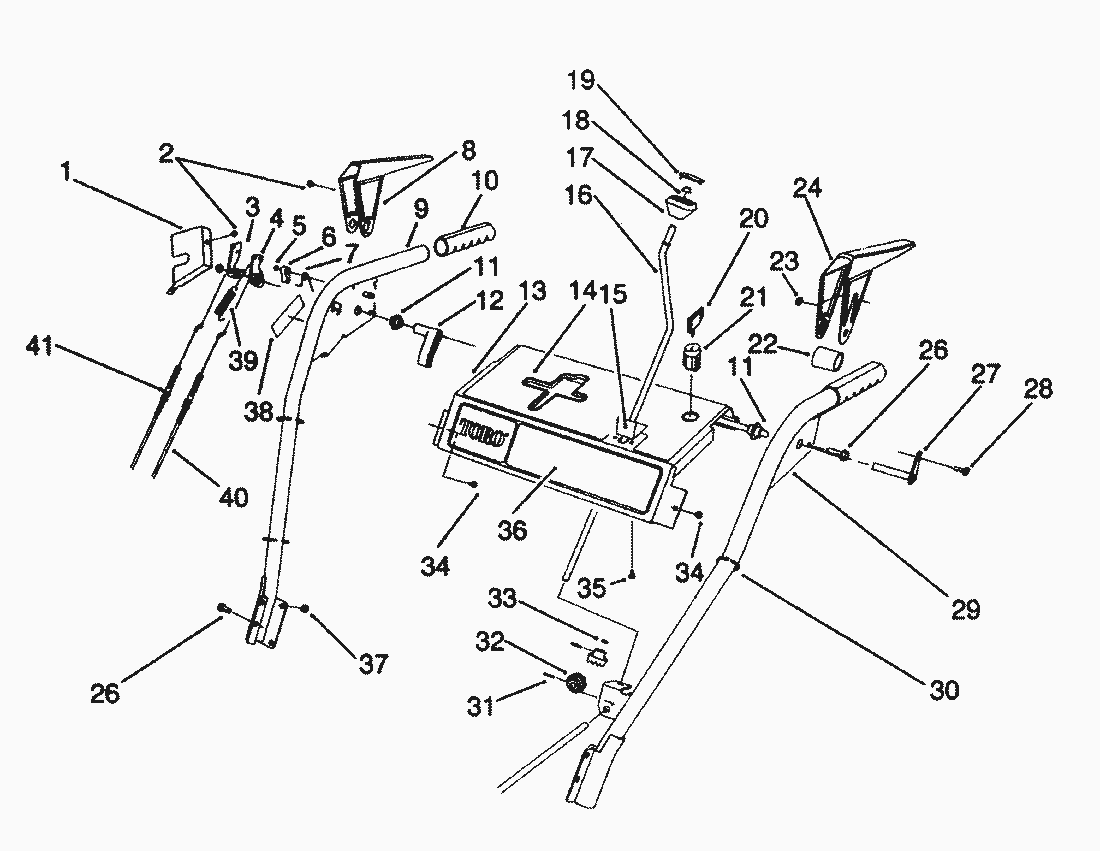
Ersatzteillisten für Toro Roth / TORO Holm
Pos.
Bezeichnung
Ersatzteilnummer
1
Cover-Lever Lock
63-2170
2
Schraube
2210-250
3
Spannhebel
62-0300
4
Nocke
62-0290
5
Ring
32151-66
6
Klinke
62-0280
7
Feder
63-2910
8
Lever-Impeller
62-1050
9
Handle-R.H.
62-1381
10
Handgriff
66-7850
11
Buechse
62-1070
12
Hebel
62-1640
13
Panel-Control
66-8100
14
Decal-Panel Top
62-2550
15
Fuehrungsplatte
62-1490
16
Gestaenge
63-2160
17
Knopf
62-1320
18
Sicherungskappe
3290-320
19
Abdeckung
62-1520
20
Schluessel
63-8360
21
Zuendschloss
40-5940
22
Distanzstueck
63-3380
23
Mutter
3296-2
24
Lever-Traction
62-1060
26
Schraube
3234-7
27
Gestaenge
63-2030
28
Schraube
3290-359
29
Handle-L.H.
66-8091
30
Tie Wrap
3290-378
31
Stift
32121-50
32
Ritzel
62-1460
33
Scheibe
62-1230
34
Schraube
32104-76
35
Schraube
32104-118
36
Decal-Panel Front
63-2520
37
Mutter
3296-47
38
Schild
63-3470
39
Spring-Extension
63-2720
40
Bowdenzug
63-2710
41
Bowdenzug
63-2700
Kabelbaum
63-3420
Loose Parts Kit
12-8949
Gebrauchsanweisungen
Toro
Roth / TORO
Aufsitzmäher
Handgeräte
Kehrmaschinen
Schneefräsen
Zubehör
zweistufig
1332 PowerShift
1232 PowerShift
1132 PowerShift
1132
1028 PowerShift
924 PowerShift
828 PowerShift
629/38574
2000001
1000001
Rücklaufstarter Tecumseh Nr. 590630
Motor Tecumseh (Modell-Nr. HM80-155386P) (Fortsetzung)
Motor Tecumseh (Modell-Nr. HM80-155386P)
Vergaser Tecumseh Nr. 632334A
Elektrostarter Motor Nr. 37-4810 (wahlw.)
Differential Bausatz Modell-Nr. 38038 (wahlw.)
Wetterschutz Nr. 68-9500 (wahlw.)
Seiten-Schneidschiene (wahlw.)
Beleuchtung
Holm
Antrieb Gestänge
Antrieb
Getriebe Nr. 66-8030 (Fortsetzung)
Getriebe Nr. 66-8030
Motor
Getriebegehäuse Nr. 66-8021
Gehäuse & Auswurf (Fortsetzung)
Gehäuse & Auswurf
0000001
629/38545
824 PowerShift
824 XL
824
724
624 PowerShift
622
521
3521
einstufig
Sauger/Bläser
Rasenmäher
Robin
Impressum
(C) by motoruf