Sentar SE 37 LI 18AWG3D-663 (2011) Grasfangsack Ersatzteile
Grasfangsack 18AWG3D-663 (2011)

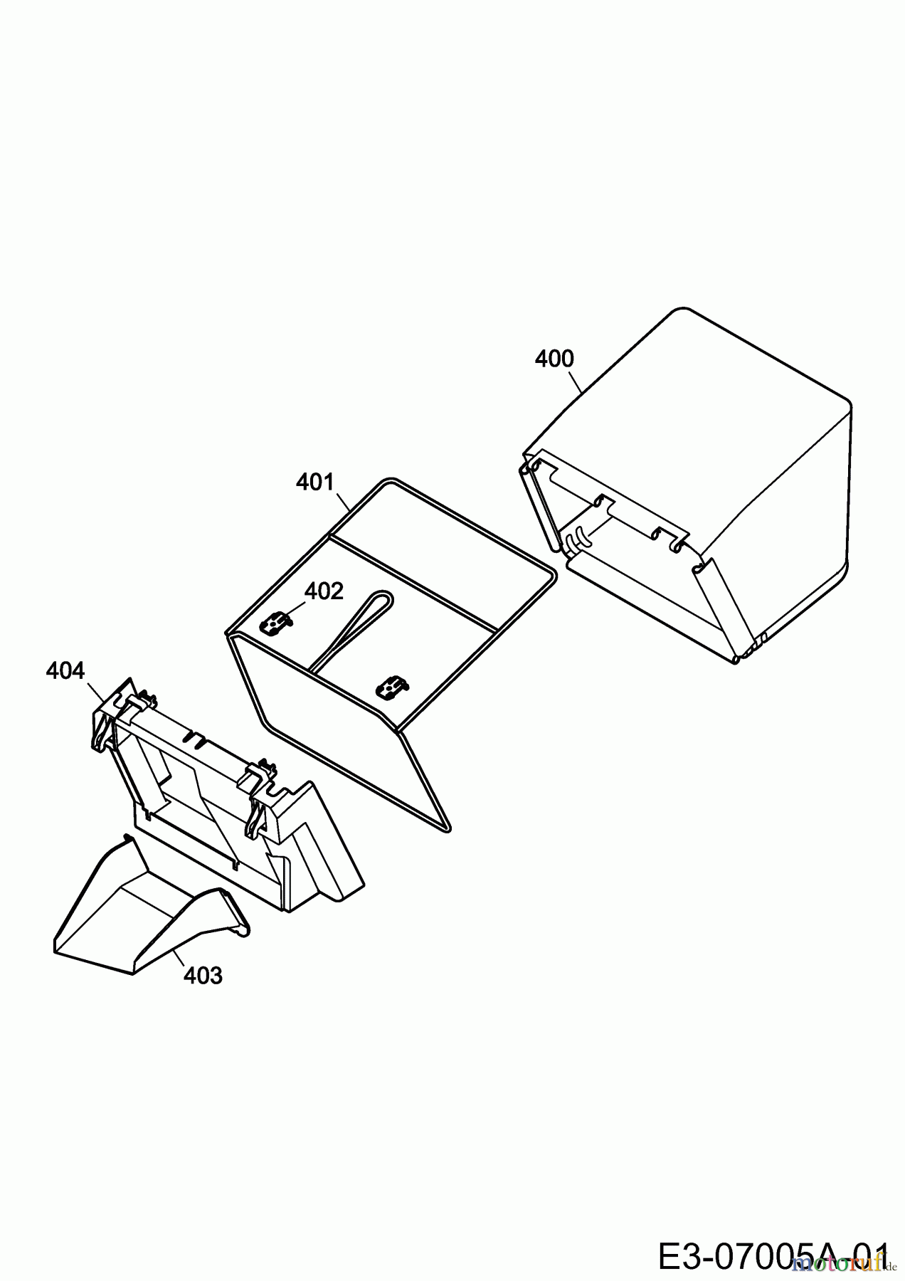
Hier finden Sie die Ersatzteilzeichnung für Sentar Akkumäher SE 37 LI 18AWG3D-663 (2011) Grasfangsack. Wählen Sie das benötigte Ersatzteil aus der Ersatzteilliste Ihres Sentar Gerätes aus und bestellen Sie einfach online. Viele Sentar Ersatzteile halten wir ständig in unserem Lager für Sie bereit.
| BildNr | Artikel Nummer | Bezeichnung | |
| 400 | 764-04134 | FANGSACKTUCH 37ER, SCHWARZ | |
| 401 | 4907034 | Fangsackgestell kpl.-lackiert | |
| 402 | 4921309 | Sicherungsriegel schwarz | |
| 403 | 731-08325 | SCHÜTTE 37E, SCHWARZ | |
| 404 | 731-08324 | MUNDSTÜCK 37ER, SCHWARZ | |



