Dolmar LS-7500 Z 2 Hydraulikanlage Ersatzteile
2 Hydraulikanlage LS-7500 Z

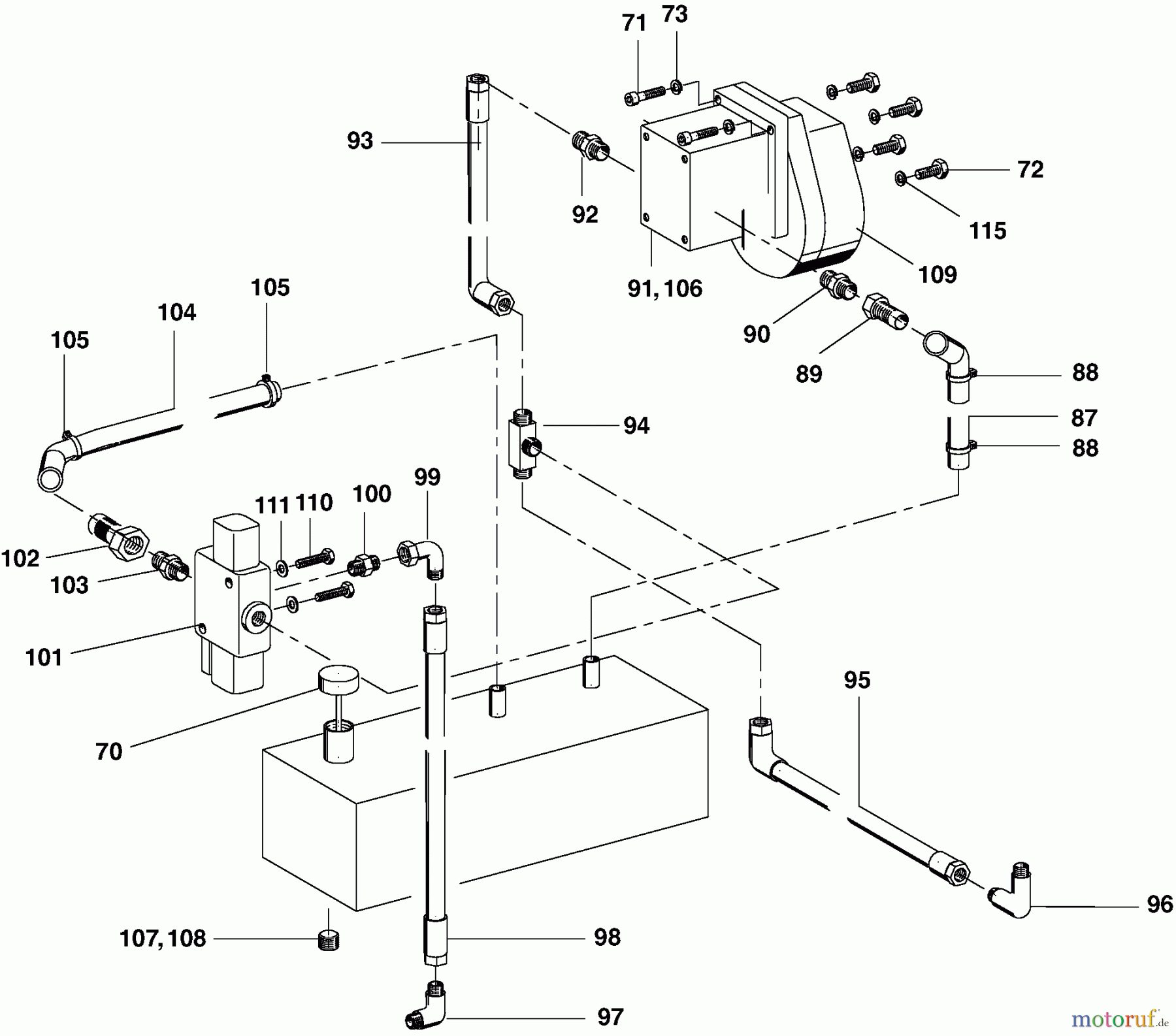
Hier finden Sie die Ersatzteilzeichnung für Dolmar Holzspalter LS-7500 Z 2 Hydraulikanlage. Wählen Sie das benötigte Ersatzteil aus der Ersatzteilliste Ihres Dolmar Gerätes aus und bestellen Sie einfach online. Viele Dolmar Ersatzteile halten wir ständig in unserem Lager für Sie bereit.



