Einstellungen Computer

Toro 74824 (ZX6050) - TITAN ZX6050 Zero-Turn-Radius Riding Mower, 2009 (290000001-290999999) CONTROL ASSEMBLY Ersatzteile

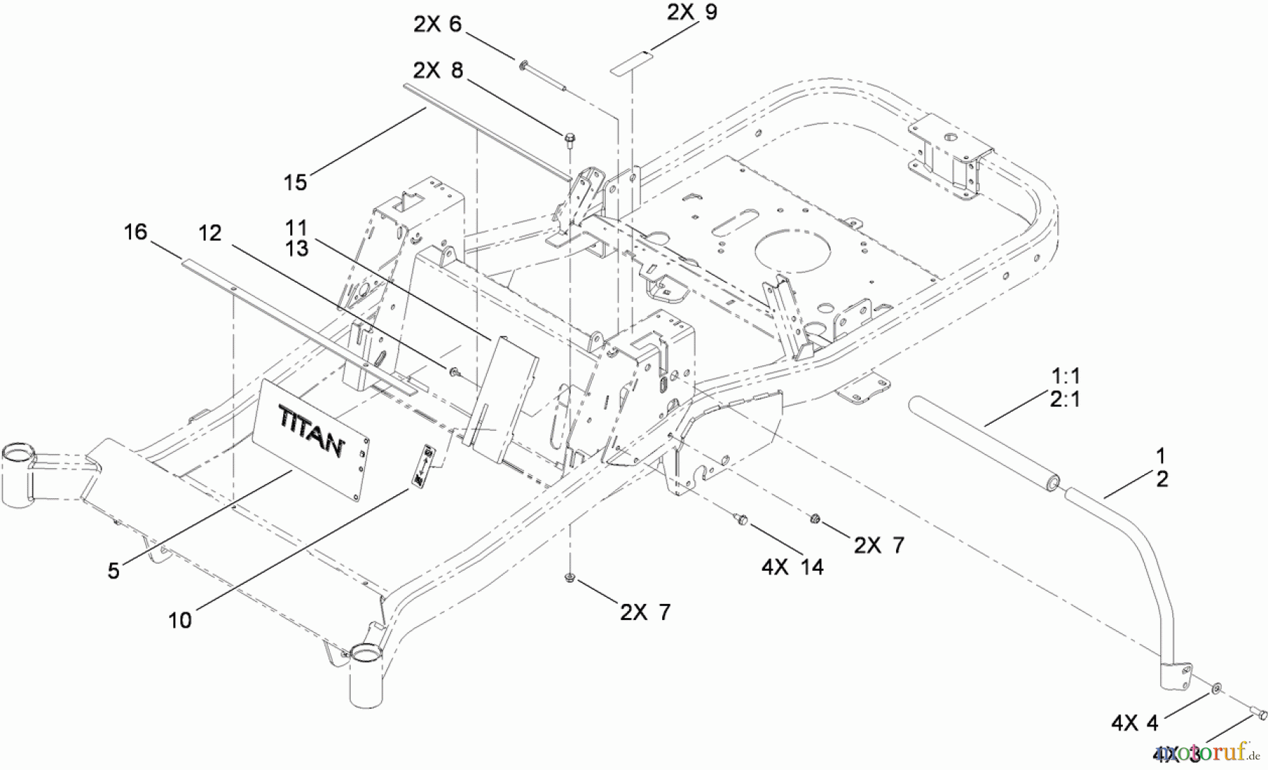
CONTROL ASSEMBLY 74824 (ZX6050) - Toro TITAN ZX6050 Zero-Turn-Radius Riding Mower, 2009 (290000001-290999999)

 Toro Neu Mowers, Zero-Turn 74824 (ZX6050) - Toro TITAN ZX6050 Zero-Turn-Radius Riding Mower, 2009 (290000001-290999999) CONTROL ASSEMBLY

Hier finden Sie die Ersatzteilzeichnung für Toro Neu Mowers, Zero-Turn 74824 (ZX6050) - Toro TITAN ZX6050 Zero-Turn-Radius Riding Mower, 2009 (290000001-290999999) CONTROL ASSEMBLY. Wählen Sie das benötigte Ersatzteil aus der Ersatzteilliste Ihres Toro Gerätes aus und bestellen Sie einfach online. Viele Toro Ersatzteile halten wir ständig in unserem Lager für Sie bereit.

Rasen
Bankeinzug, MasterCard, Visa, American Express, PayPal, Nachnahme, Vorauskasse, Sofortüberweisung
Datenschutzerklärung Impressum
Qualitätsmanagement
Informieren Sie uns, wenn Sie einen Fehler gefunden haben.