Toro 74815 (Z5200) - TITAN Z5200 Zero-Turn-Radius Riding Mower, 2008 (280000001-280999999) FUEL SYSTEM ASSEMBLY KOHLER SV830-0013 Ersatzteile
FUEL SYSTEM ASSEMBLY KOHLER SV830-0013 74815 (Z5200) - Toro TITAN Z5200 Zero-Turn-Radius Riding Mower, 2008 (280000001-280999999)

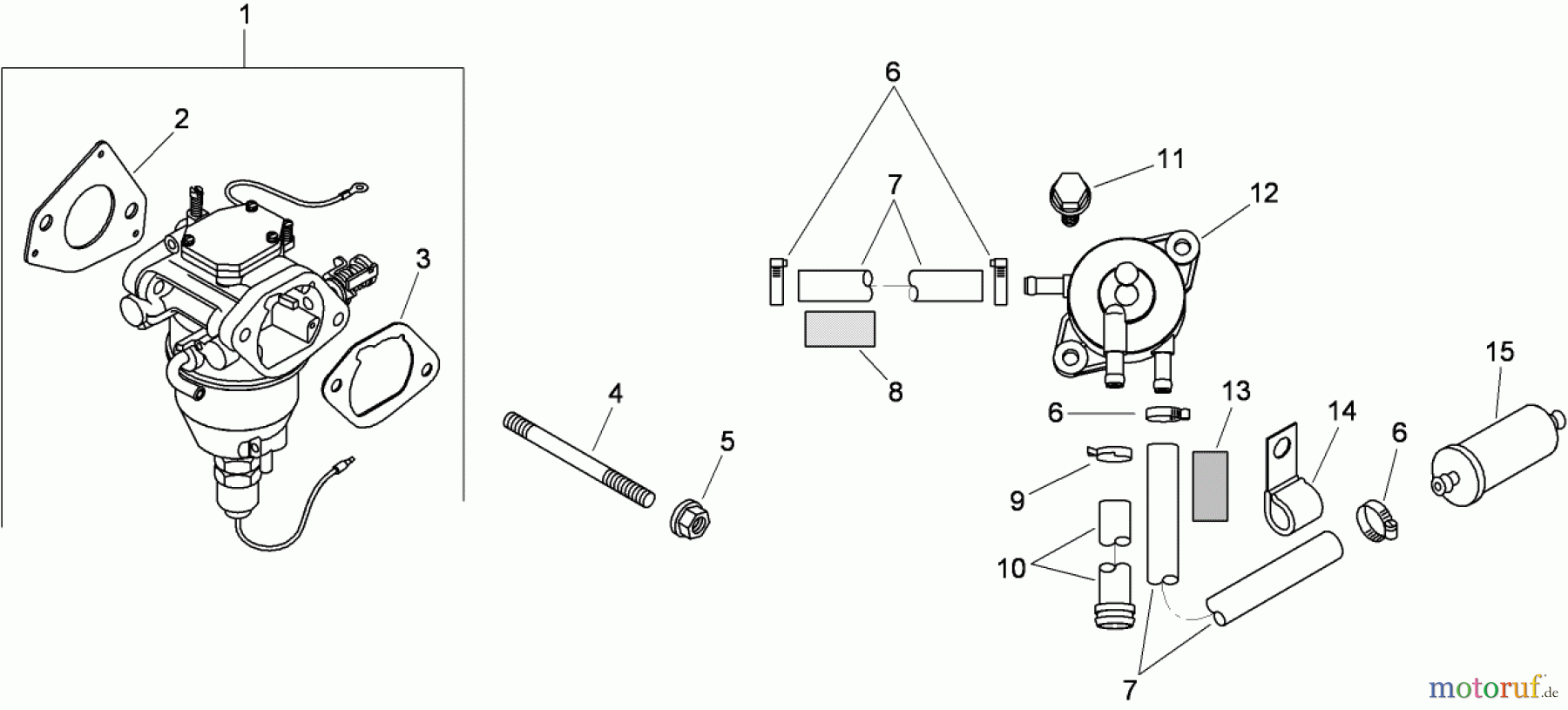
Hier finden Sie die Ersatzteilzeichnung für Toro Neu Mowers, Zero-Turn 74815 (Z5200) - Toro TITAN Z5200 Zero-Turn-Radius Riding Mower, 2008 (280000001-280999999) FUEL SYSTEM ASSEMBLY KOHLER SV830-0013. Wählen Sie das benötigte Ersatzteil aus der Ersatzteilliste Ihres Toro Gerätes aus und bestellen Sie einfach online. Viele Toro Ersatzteile halten wir ständig in unserem Lager für Sie bereit.



