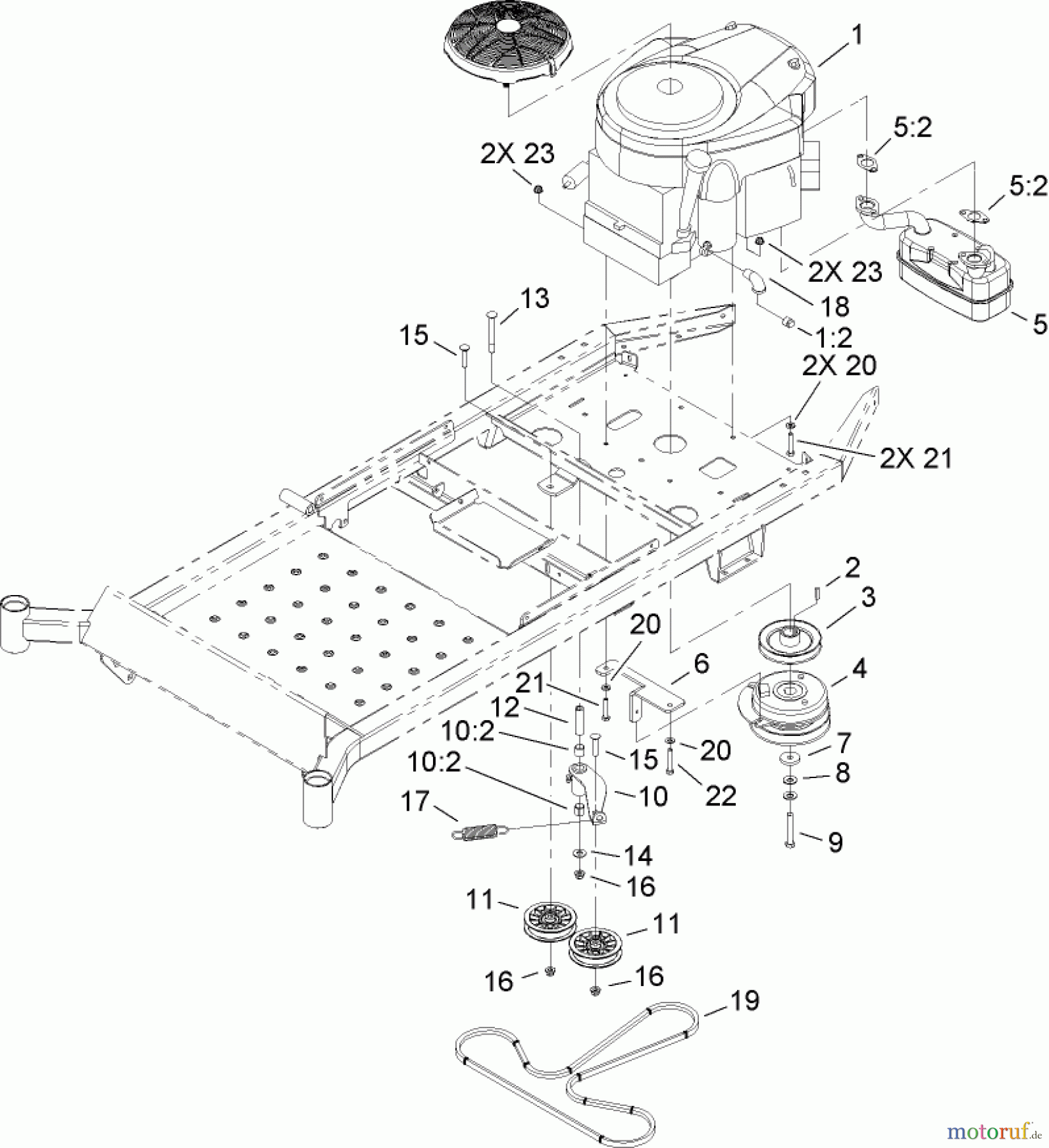
Toro 74814 (Z5200) - TITAN Z5200 Zero-Turn-Radius Riding Mower, 2007 (270000001-270999999) ENGINE ASSEMBLY Ersatzteile
ENGINE ASSEMBLY 74814 (Z5200) - Toro TITAN Z5200 Zero-Turn-Radius Riding Mower, 2007 (270000001-270999999)

Hier finden Sie die Ersatzteilzeichnung für Toro Neu Mowers, Zero-Turn 74814 (Z5200) - Toro TITAN Z5200 Zero-Turn-Radius Riding Mower, 2007 (270000001-270999999) ENGINE ASSEMBLY. Wählen Sie das benötigte Ersatzteil aus der Ersatzteilliste Ihres Toro Gerätes aus und bestellen Sie einfach online. Viele Toro Ersatzteile halten wir ständig in unserem Lager für Sie bereit.



