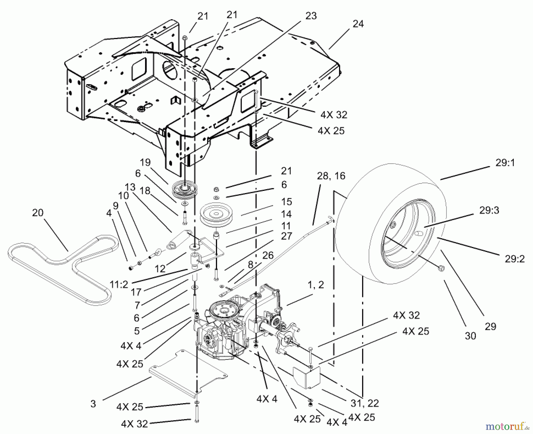
Toro 74502 (17-44ZX) - 17-44ZX TimeCutter ZX Riding Mower, 2003 (230000001-230999999) HYDRO AND BELT DRIVE ASSEMBLY Ersatzteile
HYDRO AND BELT DRIVE ASSEMBLY 74502 (17-44ZX) - Toro 17-44ZX TimeCutter ZX Riding Mower, 2003 (230000001-230999999)

Hier finden Sie die Ersatzteilzeichnung für Toro Neu Mowers, Zero-Turn 74502 (17-44ZX) - Toro 17-44ZX TimeCutter ZX Riding Mower, 2003 (230000001-230999999) HYDRO AND BELT DRIVE ASSEMBLY. Wählen Sie das benötigte Ersatzteil aus der Ersatzteilliste Ihres Toro Gerätes aus und bestellen Sie einfach online. Viele Toro Ersatzteile halten wir ständig in unserem Lager für Sie bereit.





