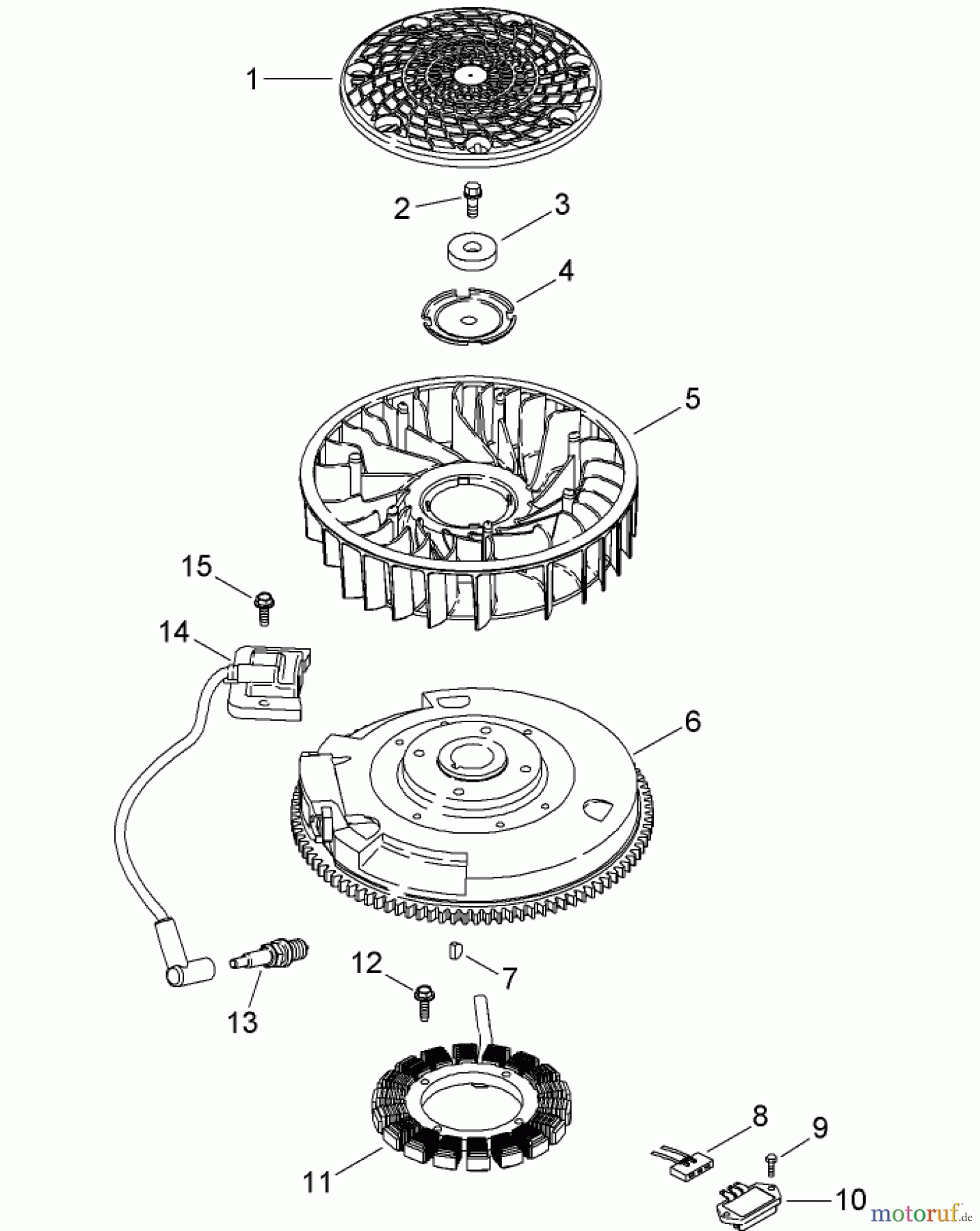
Toro 74399 (Z5020) - TimeCutter Z5020 Riding Mower, 2007 (270000001-270999999) IGNITION AND ELECTRICAL ASSEMBLY KOHLER SV720-0030 Ersatzteile
IGNITION AND ELECTRICAL ASSEMBLY KOHLER SV720-0030 74399 (Z5020) - Toro TimeCutter Z5020 Riding Mower, 2007 (270000001-270999999)

Hier finden Sie die Ersatzteilzeichnung für Toro Neu Mowers, Zero-Turn 74399 (Z5020) - Toro TimeCutter Z5020 Riding Mower, 2007 (270000001-270999999) IGNITION AND ELECTRICAL ASSEMBLY KOHLER SV720-0030. Wählen Sie das benötigte Ersatzteil aus der Ersatzteilliste Ihres Toro Gerätes aus und bestellen Sie einfach online. Viele Toro Ersatzteile halten wir ständig in unserem Lager für Sie bereit.



