Toro 20624 - Lawnmower, 1988 (8000001-8999999) STARTER MOTOR ASSEMBLY NO. 53-4500 Ersatzteile
STARTER MOTOR ASSEMBLY NO. 53-4500 20624 - Toro Lawnmower, 1988 (8000001-8999999)

Hier finden Sie die Ersatzteilzeichnung für Toro Neu Mowers, Walk-Behind Seite 1 20624 - Toro Lawnmower, 1988 (8000001-8999999) STARTER MOTOR ASSEMBLY NO. 53-4500. Wählen Sie das benötigte Ersatzteil aus der Ersatzteilliste Ihres Toro Gerätes aus und bestellen Sie einfach online. Viele Toro Ersatzteile halten wir ständig in unserem Lager für Sie bereit.
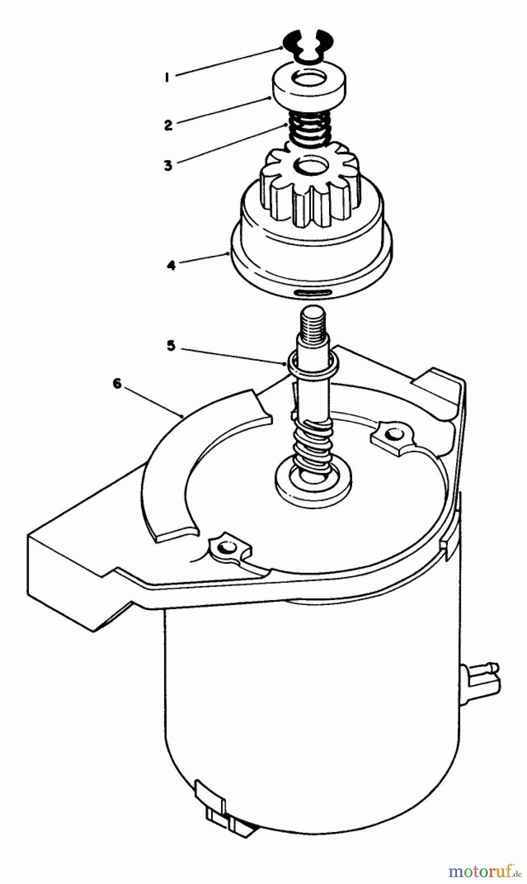
| BildNr | Artikel Nummer | Bezeichnung | |
| 1 | TR32151-47 | RING-RETAINING | |
| 2 | TR49-2170 | PINION STOP | |
| 3 | TR44-0500 | Druckfeder | |
| 4 | TR43-4370 | Starterritzel | |
| 5 | TR23-9591 | Distanzring | |
| 6 | TR53-4460 | Startergehaeuse | |
| TR53-4500 | STARTER MOTOR ASM | ||


Qualitätsmanagement
Informieren Sie uns, wenn Sie einen Fehler gefunden haben.

