Toro 02600 - HoverPro 400 Mower, 2012 (SN 312000001-312999999) ENGINE AND DECK ASSEMBLY Ersatzteile
ENGINE AND DECK ASSEMBLY 02600 - Toro HoverPro 400 Mower, 2012 (SN 312000001-312999999)

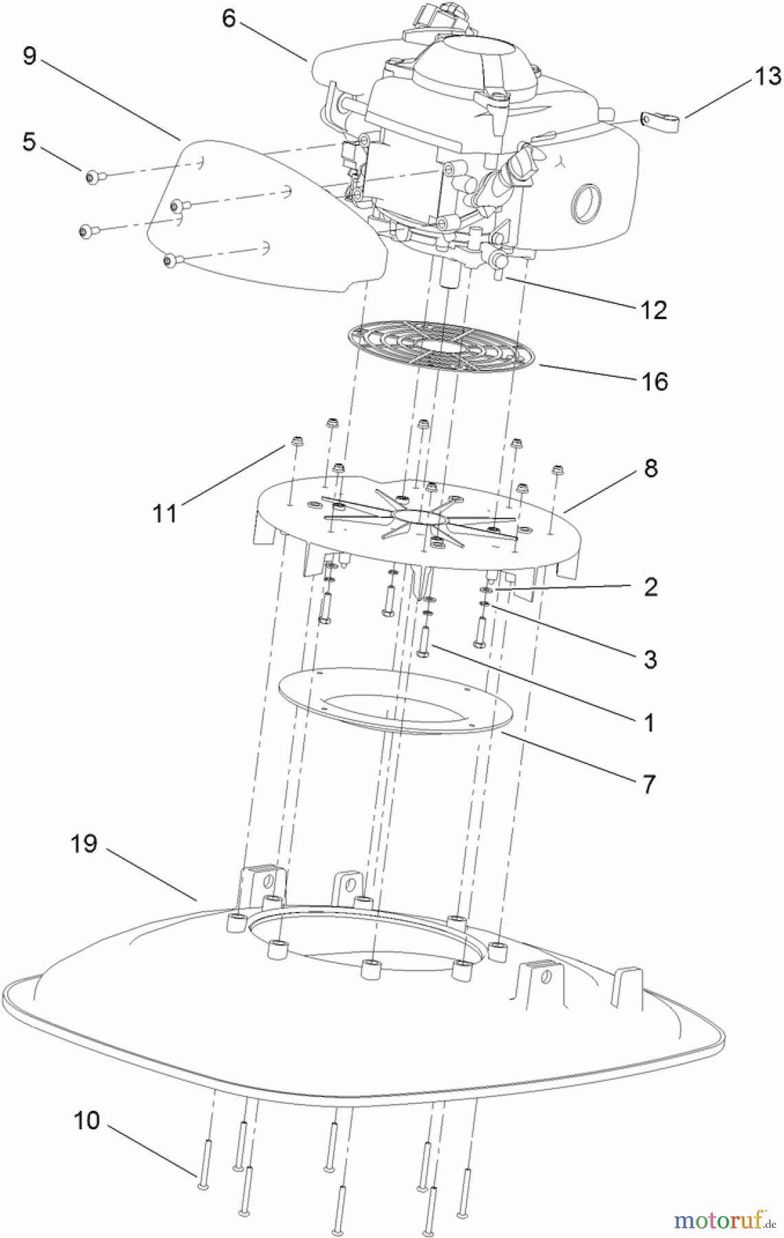
Hier finden Sie die Ersatzteilzeichnung für Toro Neu Mowers, Walk-Behind Seite 1 02600 - Toro HoverPro 400 Mower, 2012 (SN 312000001-312999999) ENGINE AND DECK ASSEMBLY. Wählen Sie das benötigte Ersatzteil aus der Ersatzteilliste Ihres Toro Gerätes aus und bestellen Sie einfach online. Viele Toro Ersatzteile halten wir ständig in unserem Lager für Sie bereit.
| BildNr | Artikel Nummer | Bezeichnung | |
| 1 | TR09364 | ||
| 2 | TR09472 | ||
| 3 | TR09474 | ||
| 5 | TR09784 | ||
| 6 | TR111-1245 | ||
| 7 | TR111-1299 | ||
| 8 | TR111-1300 | ||
| 9 | TR111-5480 | ||
| 10 | TR111-1501 | ||
| 11 | TR111-1502 | ||
| 12 | TR111-1503 | ||
| 13 | TR111-1792 | ||
| 16 | TR111-4675 | ||
| 19 | TRH192257 | ||



