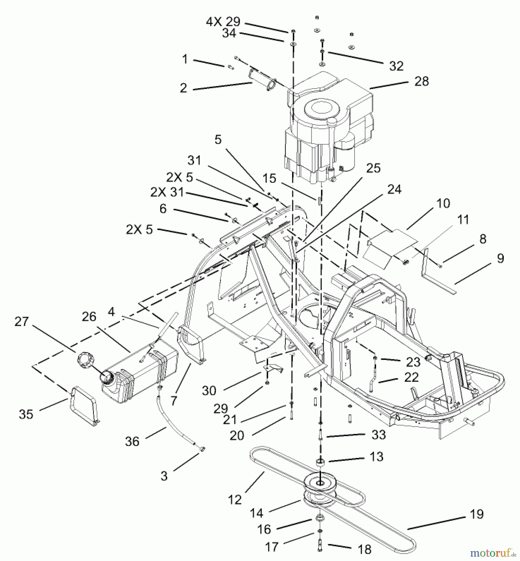
Toro 70125 (13-32G) - 13-32G Rear Engine Rider, 2003 (230000001-230999999) ENGINE AND FUEL TANK ASSEMBLY Ersatzteile
ENGINE AND FUEL TANK ASSEMBLY 70125 (13-32G) - Toro 13-32G Rear Engine Rider, 2003 (230000001-230999999)

Hier finden Sie die Ersatzteilzeichnung für Toro Neu Mowers, Rear-Engine Rider 70125 (13-32G) - Toro 13-32G Rear Engine Rider, 2003 (230000001-230999999) ENGINE AND FUEL TANK ASSEMBLY. Wählen Sie das benötigte Ersatzteil aus der Ersatzteilliste Ihres Toro Gerätes aus und bestellen Sie einfach online. Viele Toro Ersatzteile halten wir ständig in unserem Lager für Sie bereit.



