Toro 35-36RL02 - 36" Rear Discharge Mower, 1990 REAR DISCHARGE MOWER - 36" (92CM), VIN 35-36RL02 #2 Ersatzteile
REAR DISCHARGE MOWER - 36" (92CM), VIN 35-36RL02 #2 35-36RL02 - Toro 36" Rear Discharge Mower, 1990

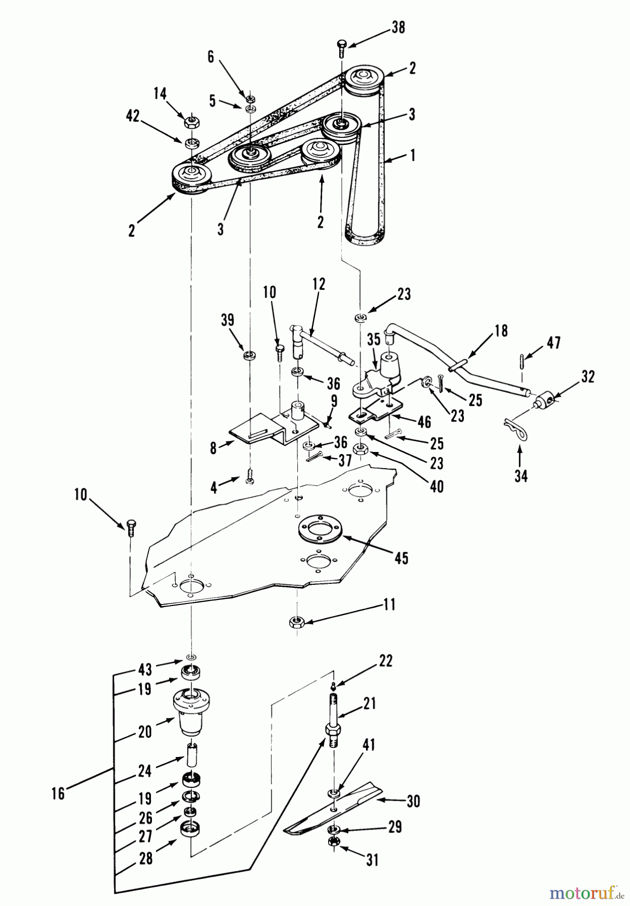
Hier finden Sie die Ersatzteilzeichnung für Toro Neu Mowers, Deck Assembly Only 35-36RL02 - Toro 36" Rear Discharge Mower, 1990 REAR DISCHARGE MOWER - 36" (92CM), VIN 35-36RL02 #2. Wählen Sie das benötigte Ersatzteil aus der Ersatzteilliste Ihres Toro Gerätes aus und bestellen Sie einfach online. Viele Toro Ersatzteile halten wir ständig in unserem Lager für Sie bereit.





