Toro 15-42RC02 - 42" Rear Discharge Mower, 1992 (2000001-2999999) REAR DISCHARGE MOWER-42 IN. #3 Ersatzteile
REAR DISCHARGE MOWER-42 IN. #3 15-42RC02 - Toro 42" Rear Discharge Mower, 1992 (2000001-2999999)

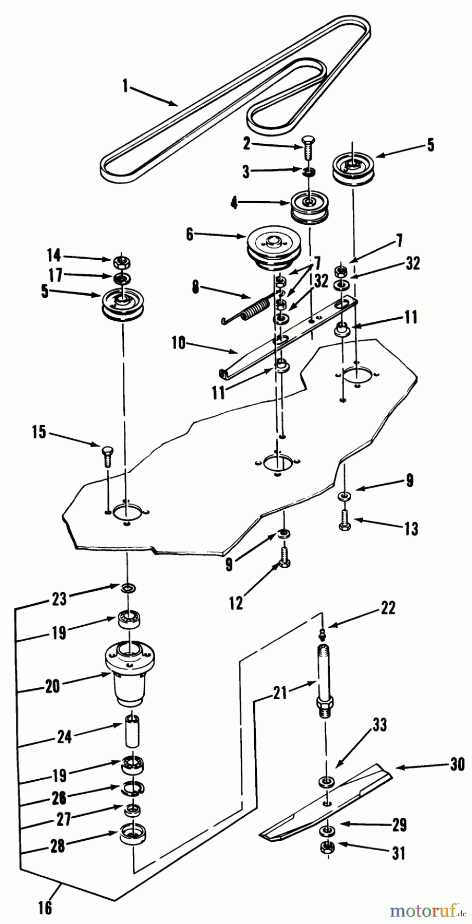
Hier finden Sie die Ersatzteilzeichnung für Toro Neu Mowers, Deck Assembly Only 15-42RC02 - Toro 42" Rear Discharge Mower, 1992 (2000001-2999999) REAR DISCHARGE MOWER-42 IN. #3. Wählen Sie das benötigte Ersatzteil aus der Ersatzteilliste Ihres Toro Gerätes aus und bestellen Sie einfach online. Viele Toro Ersatzteile halten wir ständig in unserem Lager für Sie bereit.


Qualitätsmanagement
Informieren Sie uns, wenn Sie einen Fehler gefunden haben.



