Toro 106-8559 - Bagging Blade Kit, 2003 and After DH Series Lawn Tractors BLADE AND STIFFENER ASSEMBLY Ersatzteile
BLADE AND STIFFENER ASSEMBLY 106-8559 - Toro Bagging Blade Kit, 2003 and After DH Series Lawn Tractors

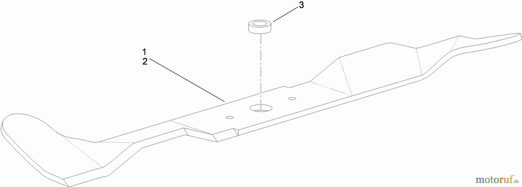
Hier finden Sie die Ersatzteilzeichnung für Toro Neu Accessories, Mower 106-8559 - Toro Bagging Blade Kit, 2003 and After DH Series Lawn Tractors BLADE AND STIFFENER ASSEMBLY. Wählen Sie das benötigte Ersatzteil aus der Ersatzteilliste Ihres Toro Gerätes aus und bestellen Sie einfach online. Viele Toro Ersatzteile halten wir ständig in unserem Lager für Sie bereit.
| BildNr | Artikel Nummer | Bezeichnung | |
| 1 | TR106-8560 | 107-8909 | |
| 2 | TR106-8561 | 107-8910 | |
| 3 | TR106-6531 | SPACER | |


Qualitätsmanagement
Informieren Sie uns, wenn Sie einen Fehler gefunden haben.

