Mäher, Stand-on SPINDLE ASSEMBLY NO. 117-7638 Ersatzteile
SPINDLE ASSEMBLY NO. 117-7638 79534 - Toro GrandStand Mower, 36" TURBO FORCE Cutting Unit (SN: 314000001 - 314999999) (2014)

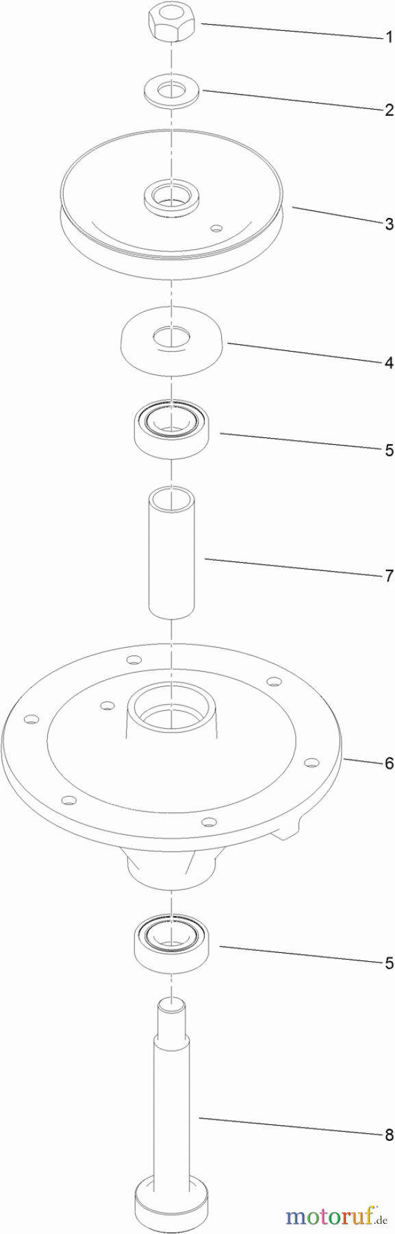
Hier finden Sie die Ersatzteilzeichnung für Mäher, Stand-on 79534 - Toro GrandStand Mower, 36" TURBO FORCE Cutting Unit (SN: 314000001 - 314999999) (2014) SPINDLE ASSEMBLY NO. 117-7638. Wählen Sie das benötigte Ersatzteil aus der Ersatzteilliste Ihres Mäher, Stand-on Gerätes aus und bestellen Sie einfach online. Viele Mäher, Stand-on Ersatzteile halten wir ständig in unserem Lager für Sie bereit.
| BildNr | Artikel Nummer | Bezeichnung | |
| 1 | TR3219-7 | Mutter | |
| 2 | TR7-4150 | WASHER | |
| 3 | TR117-7614 | PULLEY ASM | |
| 4 | TR106-0873 | Lagerdeckel | |
| 5 | TR116-0720 | BEARING-BALL | |
| 6 | TR108-6696 | HOUSING-SPINDLE | |
| 7 | TR110-0727 | SPACER-BEARING | |
| 8 | TR110-0726 | SHAFT-SPINDLE | |



