Tanaka HTS-2530PF - 30" Hedge Trimmer, Low Emission Cylinder, Piston, Crankshaft, Ignition Ersatzteile
Cylinder, Piston, Crankshaft, Ignition HTS-2530PF - Tanaka 30" Hedge Trimmer, Low Emission

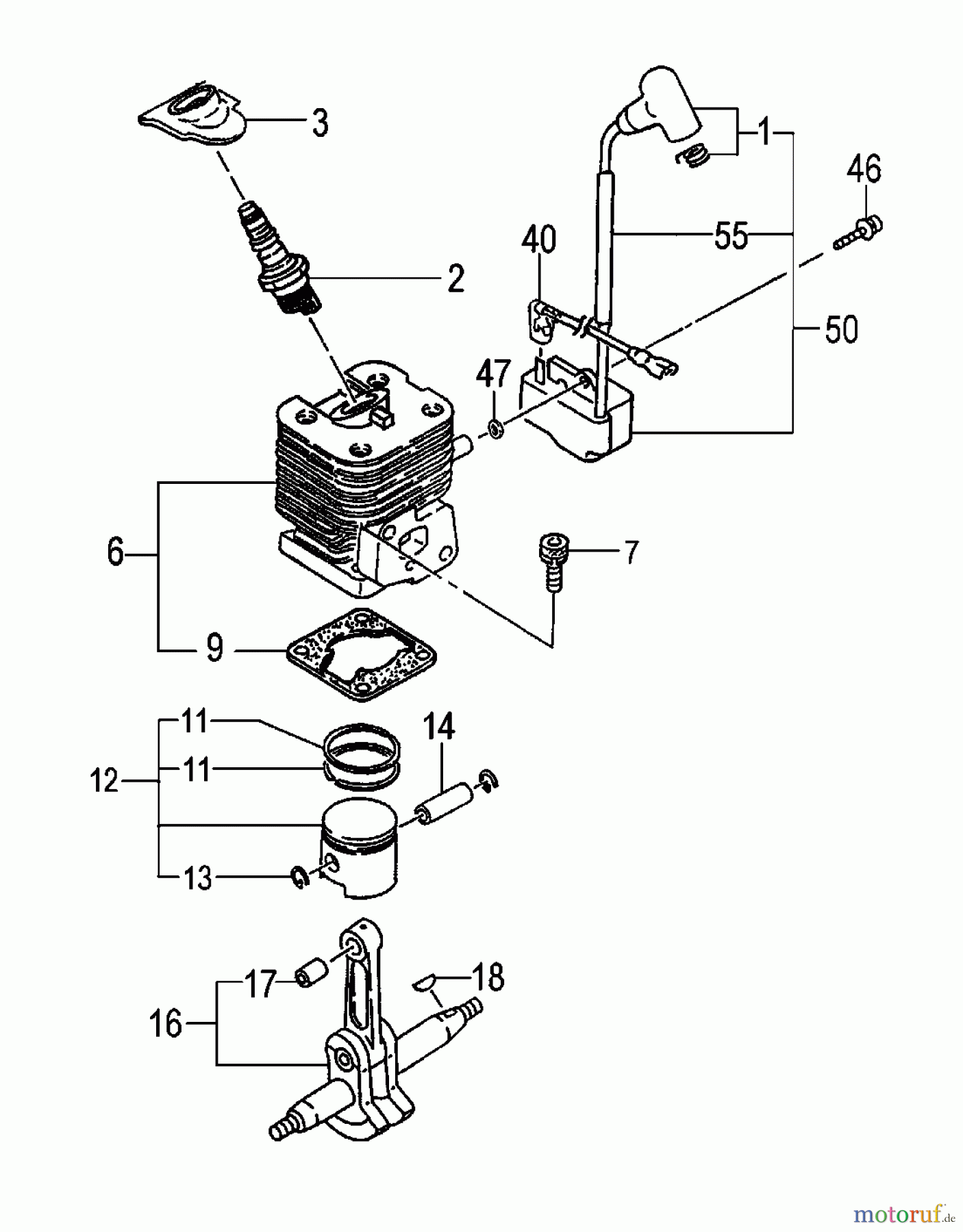
Hier finden Sie die Ersatzteilzeichnung für Tanaka Heckenscheeren HTS-2530PF - Tanaka 30" Hedge Trimmer, Low Emission Cylinder, Piston, Crankshaft, Ignition. Wählen Sie das benötigte Ersatzteil aus der Ersatzteilliste Ihres Tanaka Gerätes aus und bestellen Sie einfach online. Viele Tanaka Ersatzteile halten wir ständig in unserem Lager für Sie bereit.


Qualitätsmanagement
Informieren Sie uns, wenn Sie einen Fehler gefunden haben.

