Snapper 7061247 - Thatcherizer (1 Piece Frame) Thatcherizer Ersatzteile
Thatcherizer 7061247 - Snapper Thatcherizer (1 Piece Frame)

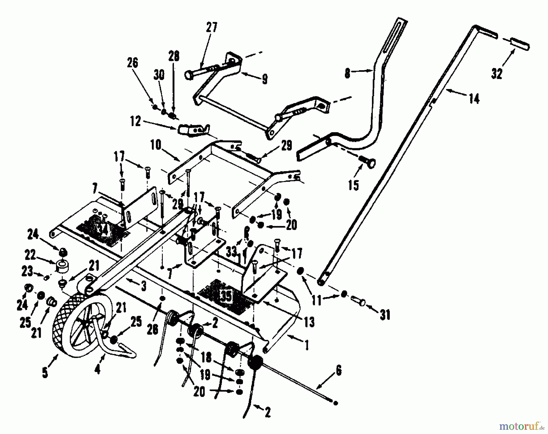
Hier finden Sie die Ersatzteilzeichnung für Snapper Zubehör. Rasenmäher 7061247 - Snapper Thatcherizer (1 Piece Frame) Thatcherizer. Wählen Sie das benötigte Ersatzteil aus der Ersatzteilliste Ihres Snapper Gerätes aus und bestellen Sie einfach online. Viele Snapper Ersatzteile halten wir ständig in unserem Lager für Sie bereit.


Qualitätsmanagement
Informieren Sie uns, wenn Sie einen Fehler gefunden haben.

