Snapper 5600035 - Striper Kit Striper Kit (5600035) Ersatzteile
Striper Kit (5600035) 5600035 - Snapper Striper Kit

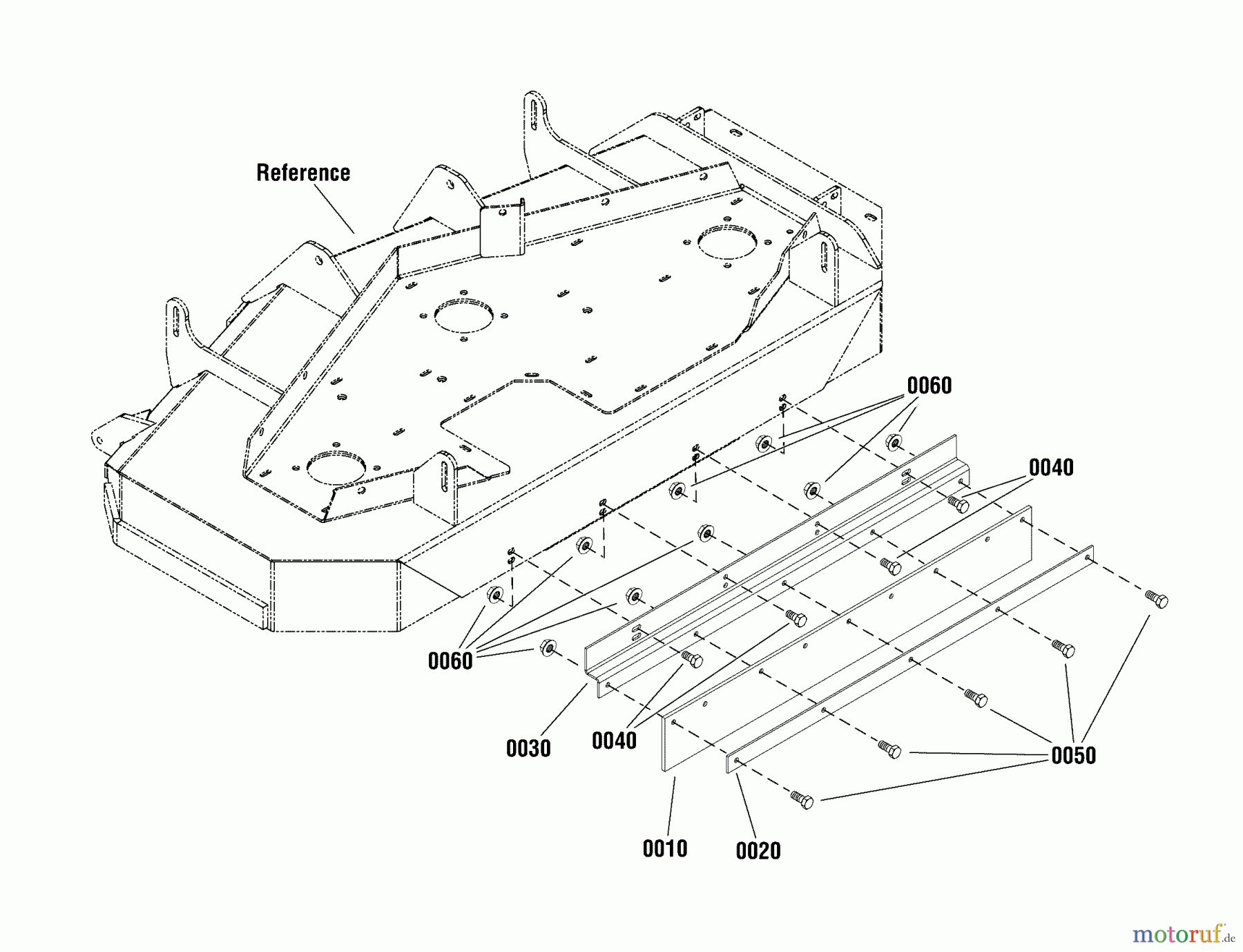
Hier finden Sie die Ersatzteilzeichnung für Snapper Zubehör. Rasenmäher 5600035 - Snapper Striper Kit Striper Kit (5600035). Wählen Sie das benötigte Ersatzteil aus der Ersatzteilliste Ihres Snapper Gerätes aus und bestellen Sie einfach online. Viele Snapper Ersatzteile halten wir ständig in unserem Lager für Sie bereit.
| BildNr | Artikel Nummer | Bezeichnung | |
| 0010 | BS5100172YP | FLAP, STRIPER | |
| 0020 | BS5400827AYP | PLATE, SUPPORT | |
| 0030 | BS5400829AYP | ||
| 0040 | BS5025011X6SM | BOLZEN, 5/16-18 X 3/4" | |
| 0050 | BS5025011X8SM | BOLZEN, 5/16-18 X 1" GD | |
| 0060 | BS703115 | MUTTER | |



