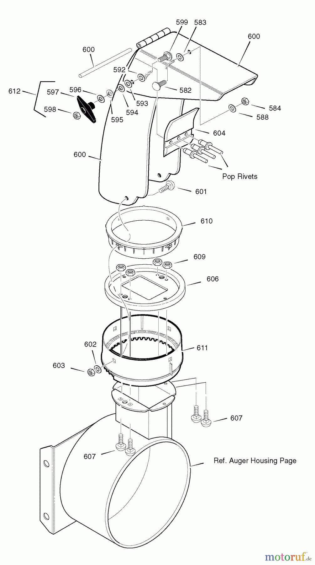
Murray ST7526 (626752x16A) - Frontier 26" Dual Stage Snow Thrower (2006) Discharge Chute Ersatzteile
Discharge Chute ST7526 (626752x16A) - Frontier 26" Dual Stage Snow Thrower (2006)

Hier finden Sie die Ersatzteilzeichnung für Murray Schneefräsen ST7526 (626752x16A) - Frontier 26" Dual Stage Snow Thrower (2006) Discharge Chute. Wählen Sie das benötigte Ersatzteil aus der Ersatzteilliste Ihres Murray Gerätes aus und bestellen Sie einfach online. Viele Murray Ersatzteile halten wir ständig in unserem Lager für Sie bereit.



