Trennschneider, Cut-Off STARTER Ersatzteile
STARTER K950 Chain, 2007-01

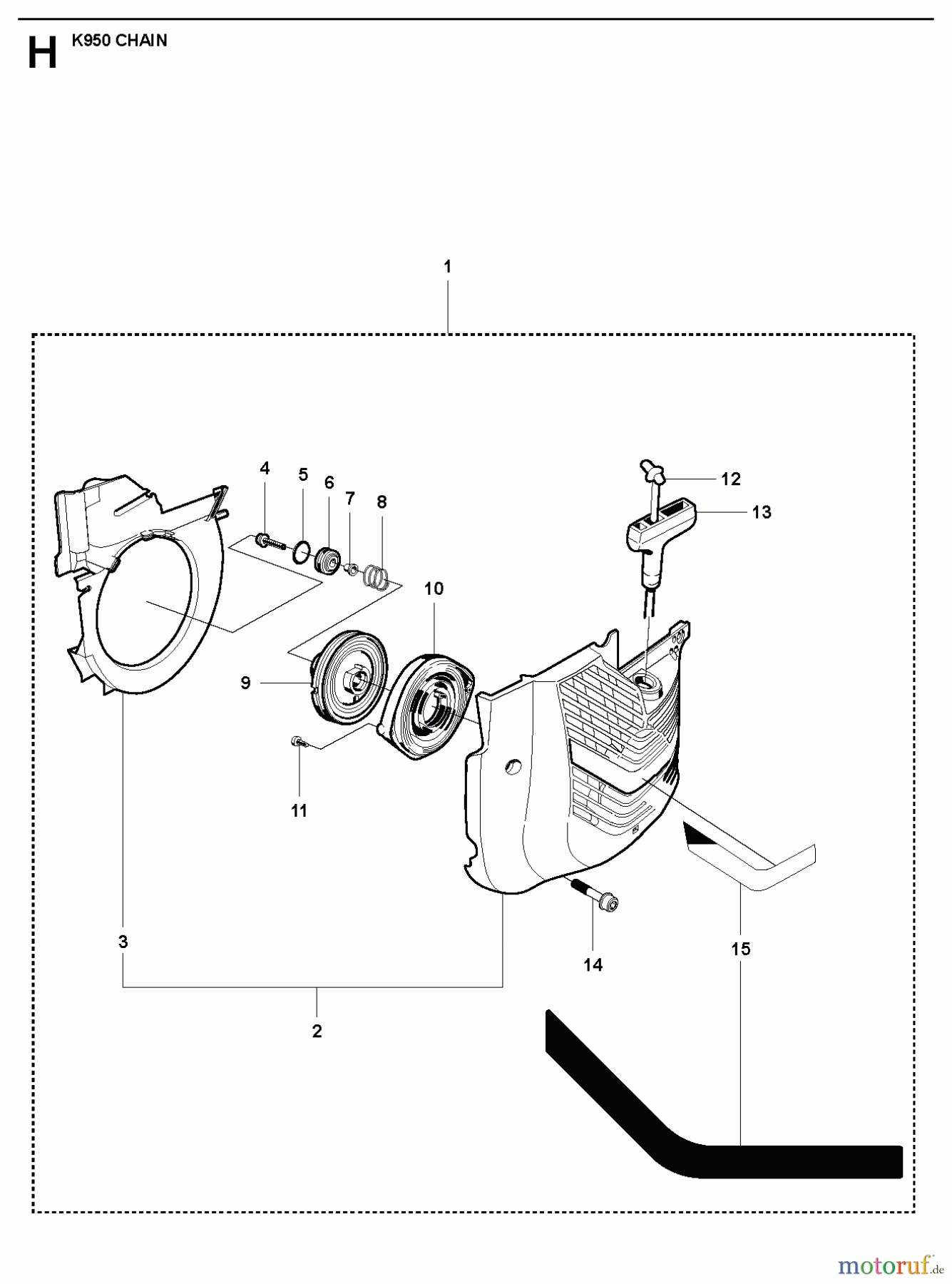
Hier finden Sie die Ersatzteilzeichnung für Trennschneider, Cut-Off K950 Chain, 2007-01 STARTER. Wählen Sie das benötigte Ersatzteil aus der Ersatzteilliste Ihres Trennschneider, Cut-Off Gerätes aus und bestellen Sie einfach online. Viele Trennschneider, Cut-Off Ersatzteile halten wir ständig in unserem Lager für Sie bereit.




