Einstellungen Computer

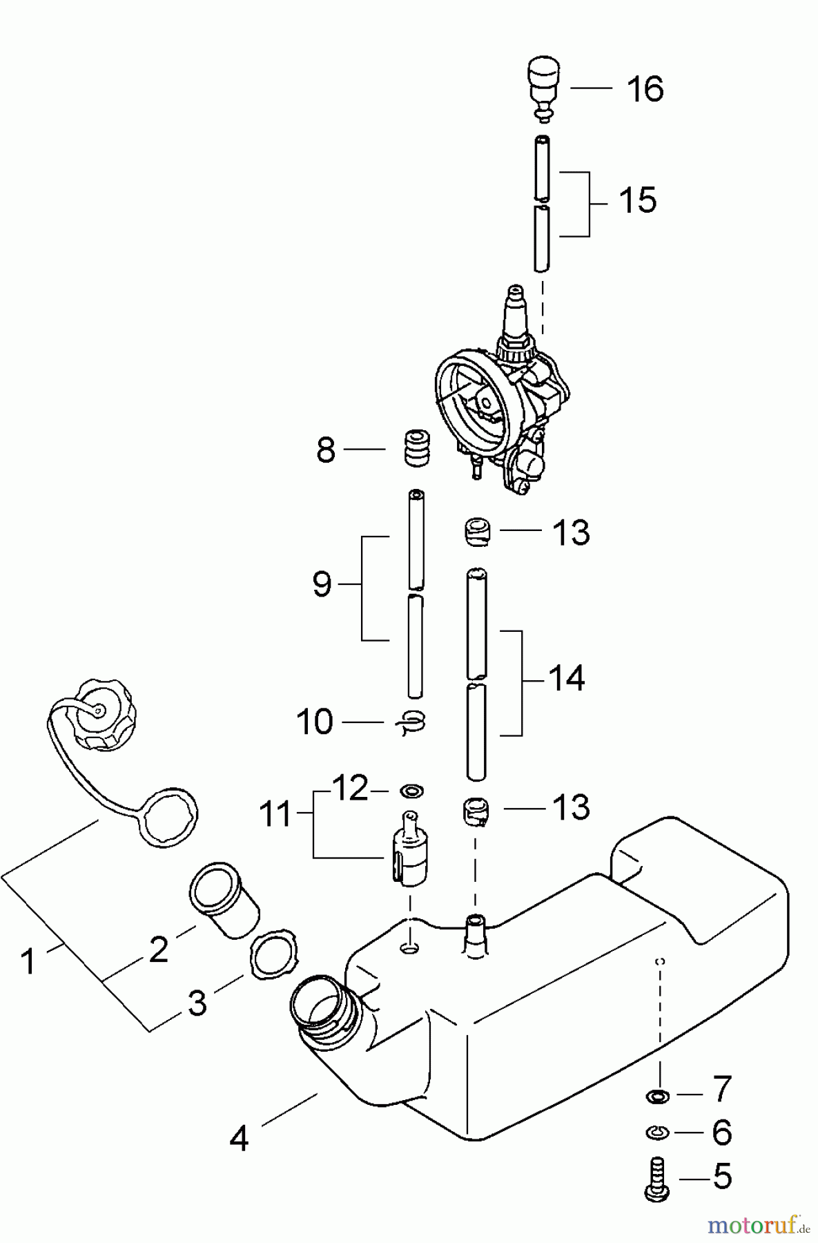
Echo DM-4610 - Duster/Mister, S/N: 35001001 - 35999999 Fuel System Ersatzteile

Fuel System DM-4610 - Echo Duster/Mister, S/N: 35001001 - 35999999

 Echo Pflanzenschutzspritzen DM-4610 - Echo Duster/Mister, S/N: 35001001 - 35999999 Fuel System

Hier finden Sie die Ersatzteilzeichnung für Echo Pflanzenschutzspritzen DM-4610 - Echo Duster/Mister, S/N: 35001001 - 35999999 Fuel System. Wählen Sie das benötigte Ersatzteil aus der Ersatzteilliste Ihres Echo Gerätes aus und bestellen Sie einfach online. Viele Echo Ersatzteile halten wir ständig in unserem Lager für Sie bereit.

Rasen
Bankeinzug, MasterCard, Visa, American Express, PayPal, Nachnahme, Vorauskasse, Sofortüberweisung
Datenschutzerklärung Impressum
Qualitätsmanagement
Informieren Sie uns, wenn Sie einen Fehler gefunden haben.