Echo CS-500VL - Chainsaw, S/N: 049001 - 999999 Carburetor Assy Ersatzteile
Carburetor Assy CS-500VL - Echo Chainsaw, S/N: 049001 - 999999

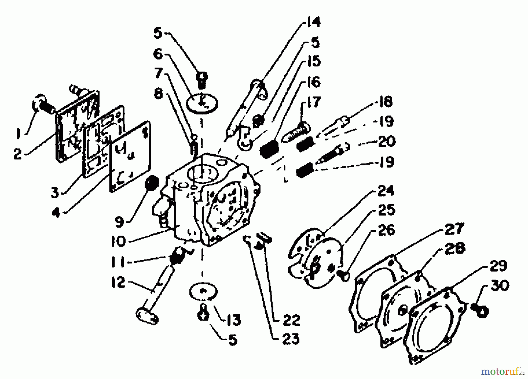
Hier finden Sie die Ersatzteilzeichnung für Echo Sägen, Kettensägen CS-500VL - Echo Chainsaw, S/N: 049001 - 999999 Carburetor Assy. Wählen Sie das benötigte Ersatzteil aus der Ersatzteilliste Ihres Echo Gerätes aus und bestellen Sie einfach online. Viele Echo Ersatzteile halten wir ständig in unserem Lager für Sie bereit.



