Echo CS-4600 - Chainsaw, S/N: 0027192 - 0033240 Exhaust, Air Cleaner Ersatzteile
Exhaust, Air Cleaner CS-4600 - Echo Chainsaw, S/N: 0027192 - 0033240

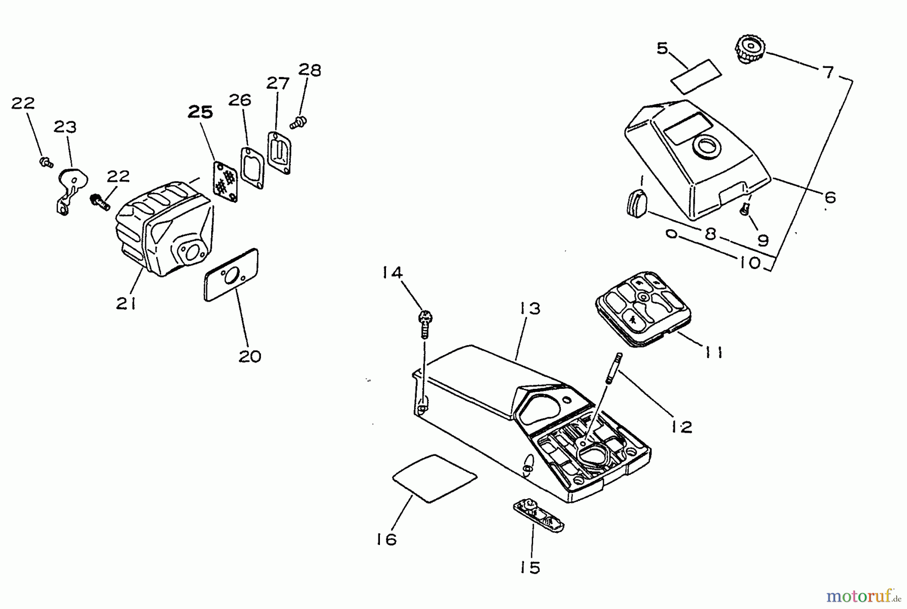
Hier finden Sie die Ersatzteilzeichnung für Echo Sägen, Kettensägen CS-4600 - Echo Chainsaw, S/N: 0027192 - 0033240 Exhaust, Air Cleaner. Wählen Sie das benötigte Ersatzteil aus der Ersatzteilliste Ihres Echo Gerätes aus und bestellen Sie einfach online. Viele Echo Ersatzteile halten wir ständig in unserem Lager für Sie bereit.


Qualitätsmanagement
Informieren Sie uns, wenn Sie einen Fehler gefunden haben.

