Zurück zu
>
Benzinmotoren
>
Briggs & Stratton
>
Intek
>
Intek Edge SV ( 2003 / 2057005- )
>
Starter (2057005-2003-8)
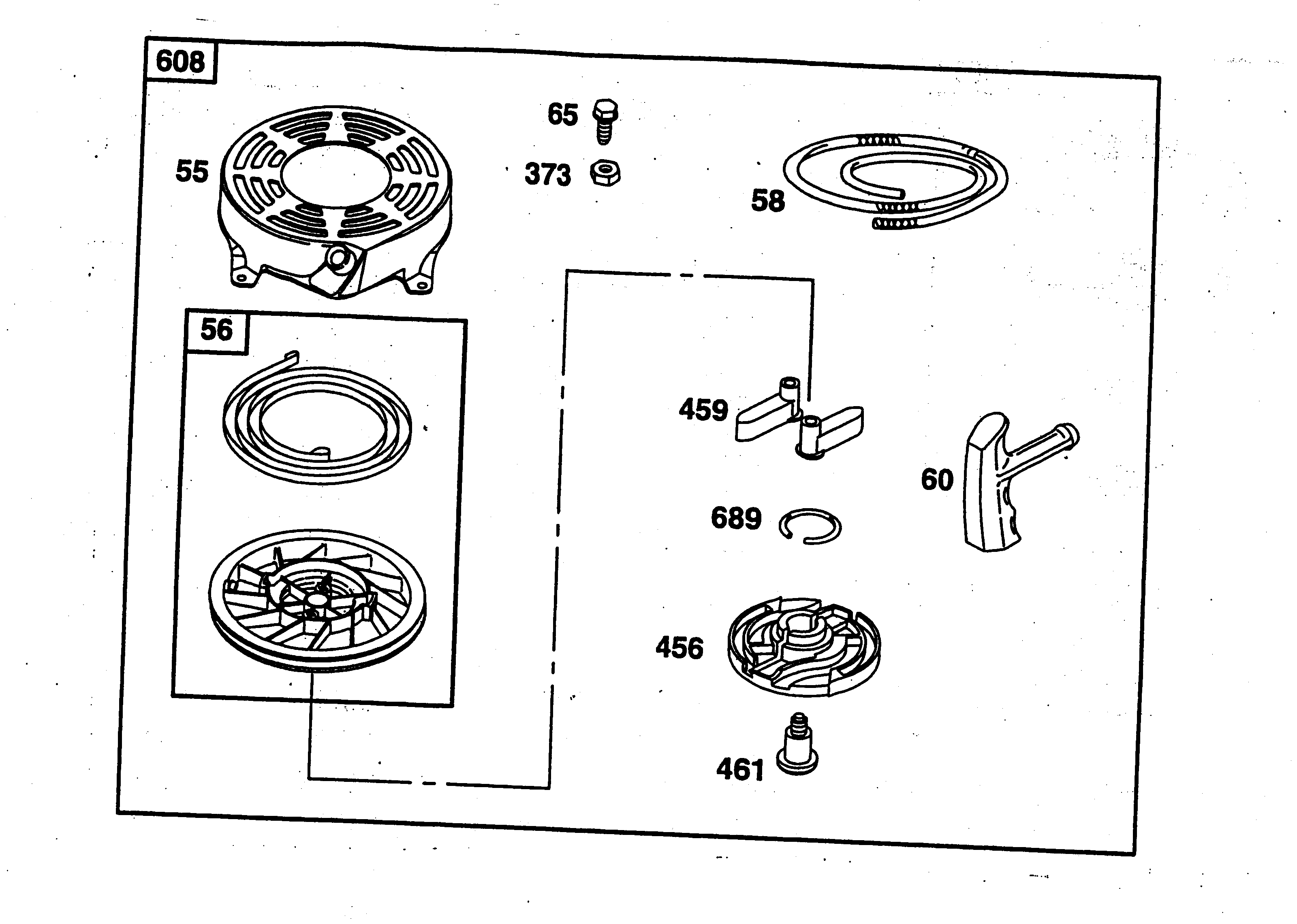
Ersatzteillisten für Wolf Benzinmotoren Starter (2057005-2003-8)
Pos.
Bezeichnung
Ersatzteilnummer
55
Startergehäuse
2069 121
56
Seilscheibe kpl.
2057 184
58
Seil
2063 604
60
Startergriff (neu)
2069 300
65
Schraube
2057 110
373
Mutter
2057 100
456
Federhalter
2069 301
459
Halter
2069 302
461
Schraube
2069 124
608
Starter kpl.
2069 012
689
Wellensicherung
2069 125
Gebrauchsanweisungen
Wolf
Handgeräte
Heckenscheren
Universalscheren
Handgrasscheren
Astscheren
Baumscheren
Baumpflege
Beleuchtungssysteme
Accuscheren
Häcksler
Sägen
Trimmer
Spindelmäher
Streuwagen / Portax
Schlauchwagen
Vertikutierer / Lüfter / Aerifizierer
Mäher
Aufsitzmäher
Benzinmotoren
Tecumseh
Briggs & Stratton
Quattro
Quantum
Diamond
Intek
Intek 60 ( 1998 / 2057000- )
Intek OHV ( 2001 / 1002000- )
Intek Edge SV ( 2003 / 2057005- )
Zylindergehäuse (2057005-2003-1)
Kurbelwelle, Kolben (2057005-2003-2)
Ölwanne (2057005-2003-3)
Vergaser (2057005-2003-4)
Regelung, Luftfilter (2057005-2003-5)
Polrad, Lüfterhaube, Zündanlage (2057005-2003-6)
Abdeckung, Tank, Schalldämpfer (2057005-2003-7)
Starter (2057005-2003-8)
Elektrischer Anlasser (2057005-2003-9)
Dichtungssatz (2057005-2003-10)
Intek Edge OHV ( 2003 / 2057006- )
Intek Edge OHV ( 2004 / 2057006- )
Sprint
Classic
Honda
Kawasaki
Zubehör
Impressum
(C) by motoruf