Zurück zu
>
Benzinmotoren
>
Kawasaki
>
FA / FC
>
FC 180 V ( 1999 / 2096080- )
>
Schwungrad, Zündanlage (2096080-1999-6)
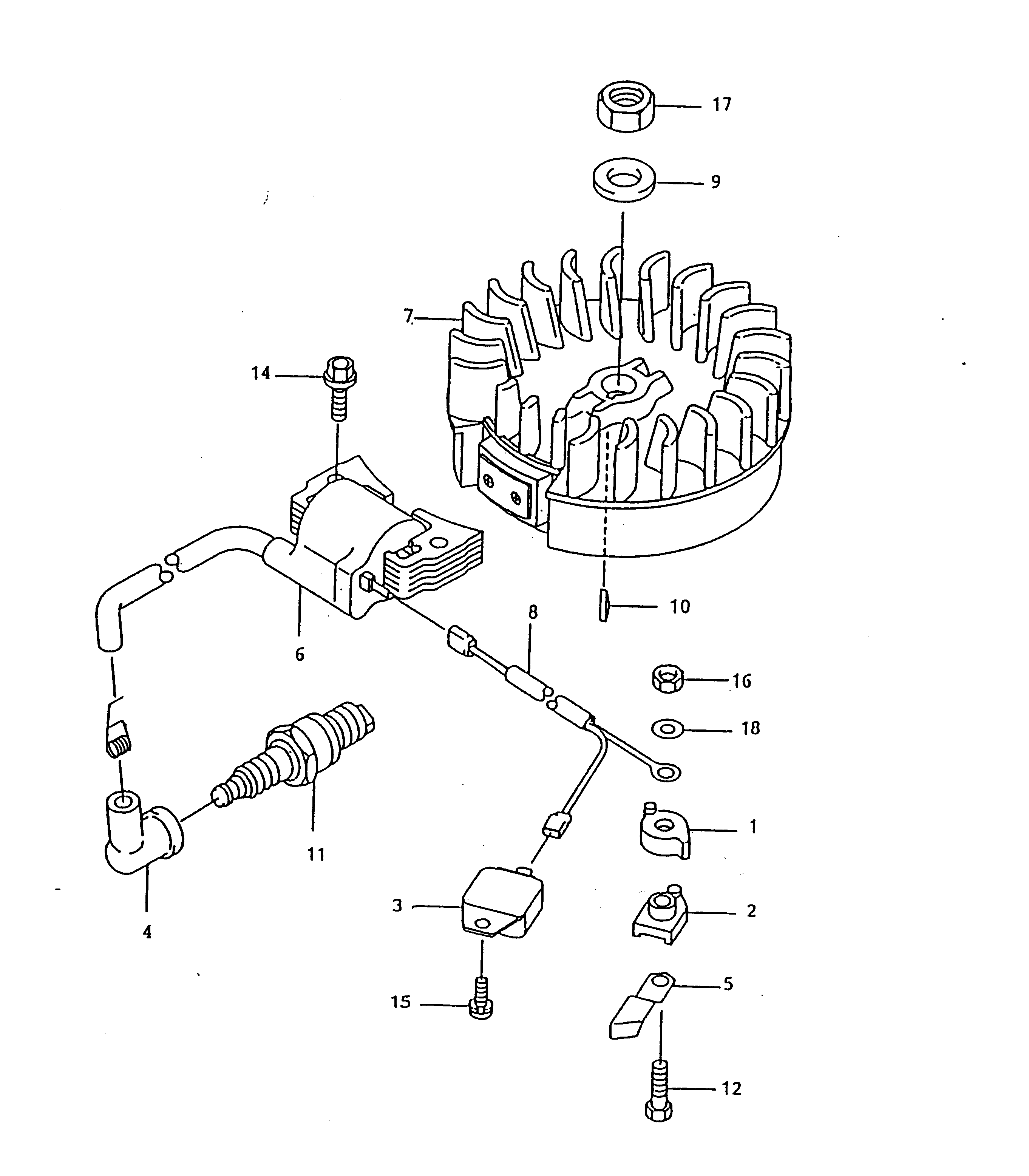
Ersatzteillisten für Wolf Benzinmotoren Schwungrad, Zündanlage (2096080-1999-6)
Pos.
Bezeichnung
Ersatzteilnummer
1
Isolator
2090 311
2
Isolator
2096 145
3
Schalter
2095 315
4
Kerzenstecker
2090 305
5
Regelplatte
2090 310
6
Zündspule
2095 304
7
Schwungrad
2096 146
8
Kabel
2096 147
9
Scheibe
2090 302
10
Schwungradkeil
2090 301
11
Zündkerze
2095 306
12
Schraube
2090 308
14
Schraube
2090 224
15
Schraube
2090 316
16
Mutter
2090 314
17
Mutter
2090 303
18
Scheibe
2090 313
Gebrauchsanweisungen
Wolf
Handgeräte
Heckenscheren
Universalscheren
Handgrasscheren
Astscheren
Baumscheren
Baumpflege
Beleuchtungssysteme
Accuscheren
Häcksler
Sägen
Trimmer
Spindelmäher
Streuwagen / Portax
Schlauchwagen
Vertikutierer / Lüfter / Aerifizierer
Mäher
Aufsitzmäher
Benzinmotoren
Tecumseh
Briggs & Stratton
Honda
Kawasaki
FA / FC
FA 76 ( 1996 / 2055000-B - D )
FA 76 ( 1996 / 2055000-E )
FA 76 ( 1996 / 2055000-F, G )
FC 150 V ( 1996 / 2090065- )
FC 150 V ( 1999 / 2096055- )
FC 180 V ( 1999 / 2096080- )
Kurbelgehäuse, Zylinderkopf (2096080-1999-1)
Kurbelwelle, Kolben (2096080-1999-2)
Ventile, Nockenwelle (2096080-1999-3)
Vergaser (2096080-1999-4)
Regler (2096080-1999-5)
Schwungrad, Zündanlage (2096080-1999-6)
Tank (2096080-1999-7)
Lüfterfilter, Auspuff (2096080-1999-8)
Starter (2096080-1999-9)
FA 76 ( 2003 / 2055000- )
FC 150 V ( 2003 / 2090065- )
FJ
Zubehör
Impressum
(C) by motoruf