Zurück zu
>
Aufsitzmäher
>
Trac
>
OHV 7
>
Trac OHV 7 ( 2001 / 6205000-A )
>
Lenkung (6205000a-2001-4)
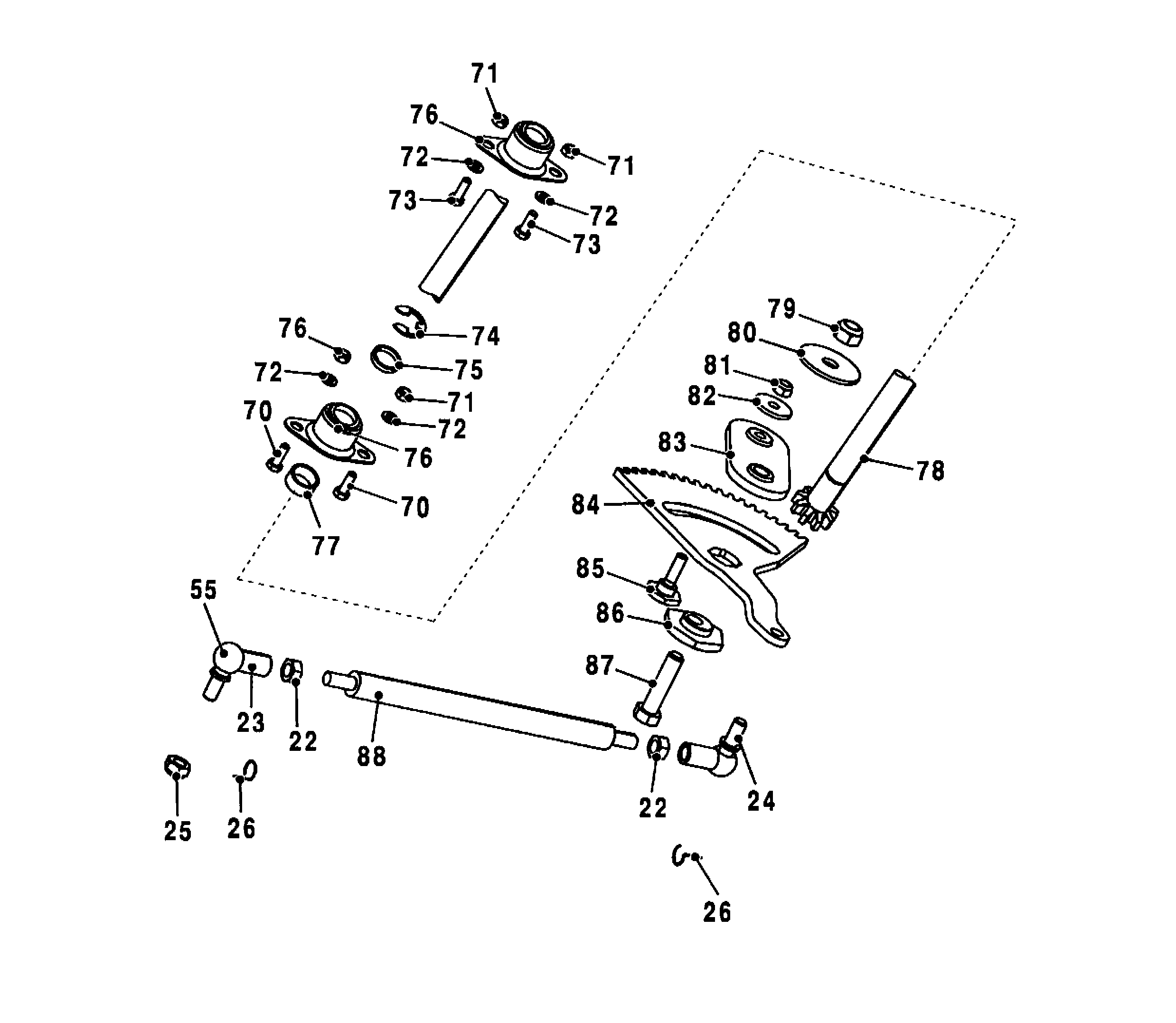
Ersatzteillisten für Wolf Aufsitzmäher Lenkung (6205000a-2001-4)
Pos.
Bezeichnung
Ersatzteilnummer
22
6-kt.-Mutter M 10 DIN 934 ()
0016 214
23
Kugelgelenk-Gehäuse 16-DIN 71805B
6205 146
24
Kugelbolzen 16-DIN 71803C
6205 145
25
Mutter, selbsts. M10-Tensilock CL.8
6205 134
26
Drahtsicherung 16-DIN 71805S
6205 559
55
Winkel-Kugelgelenk 16, kpl.
6205 021
70
6kt.-Schraube
0010 385
71
6kt.-Mutter
0016 312
72
Scheibe A8,4 DIN 125-St
0017 123
73
6-kt.-Schraube M 8 x 20 DIN 933
0010 402
74
Sicherungsscheibe 15-DIN 6799
0022 415
75
Distanzring, oben
6205 482
76
Lager FJB-12
6205 541
77
Distanzring, unten
6205 481
78
Lenkwelle mit Zahnrad
6200 492
79
Mutter, selbsts. M12-DIN 982 CL.8
6205 564
80
Exzenterscheibe 12,4x50x3
6205 545
81
6kt.-Mutter
0016 312
82
Scheibe 8,4-Din 9021B
6205 568
83
Lenkungsplatte
6205 544
84
Zahnsegment
6205 110
85
Passschraube
6205 542
86
Exzenterstück
6205 112
87
6kt.-Schraube M12x45-DIN 933 8.8
6205 578
88
Lenkzwischenstange
6205 114
Gebrauchsanweisungen
Wolf
Handgeräte
Heckenscheren
Universalscheren
Handgrasscheren
Astscheren
Baumscheren
Baumpflege
Beleuchtungssysteme
Accuscheren
Häcksler
Sägen
Trimmer
Spindelmäher
Streuwagen / Portax
Schlauchwagen
Vertikutierer / Lüfter / Aerifizierer
Mäher
Aufsitzmäher
Scooter
Cart
Trac
OHV 6
OHV 7
Trac OHV 7 ( 2001 / 6205000-A )
Datenblatt (6205000a-2001-1)
Motor (6205000a-2001-2)
Vorderachse (6205000a-2001-3)
Lenkung (6205000a-2001-4)
Antrieb, Getriebe (6205000a-2001-5)
Bedienelemente, Höhenverstellung (6205000a-2001-6)
Bedienelemente, Bremse (6205000a-2001-7)
Bedienelemente, Antrieb (6205000a-2001-8)
Mähgehäuse kpl. mit Anbauteilen (6205000a-2001-9)
Riemen, Übersetztung Mähwerk (6205000a-2001-10)
Auswurfkanal, Aufnahme Fangeinrichtung (6205000a-2001-11)
Fangeinrichtung (6205000a-2001-12)
Sitz, Anbauteile Rahmen (6205000a-2001-13)
Motorhaube (6205000a-2001-14)
Kabelbaum (6205000a-2001-15)
Elektrische Schalter1 (6205000a-2001-16)
Elektrische Schalter2 (6205000a-2001-17)
Etiketten (6205000a-2001-18)
Intek OHV ( 2001 / 1002000- )
Trac OHV 7 ( 2003 / 6205000-B )
Trac OHV 7 ( 2004 / 6205000-C )
Getriebe
Benzinmotoren
Zubehör
Impressum
(C) by motoruf