Zurück zu
>
Benzinmotoren
>
Briggs & Stratton
>
Diamond
>
Diamond I/C OHV ( 2004 / 1001000- )
>
Elektr. Anlasser, Schalldämpfer (1001000-2004-8)
Ersatzteillisten für Wolf Benzinmotoren Elektr. Anlasser, Schalldämpfer (1001000-2004-8)
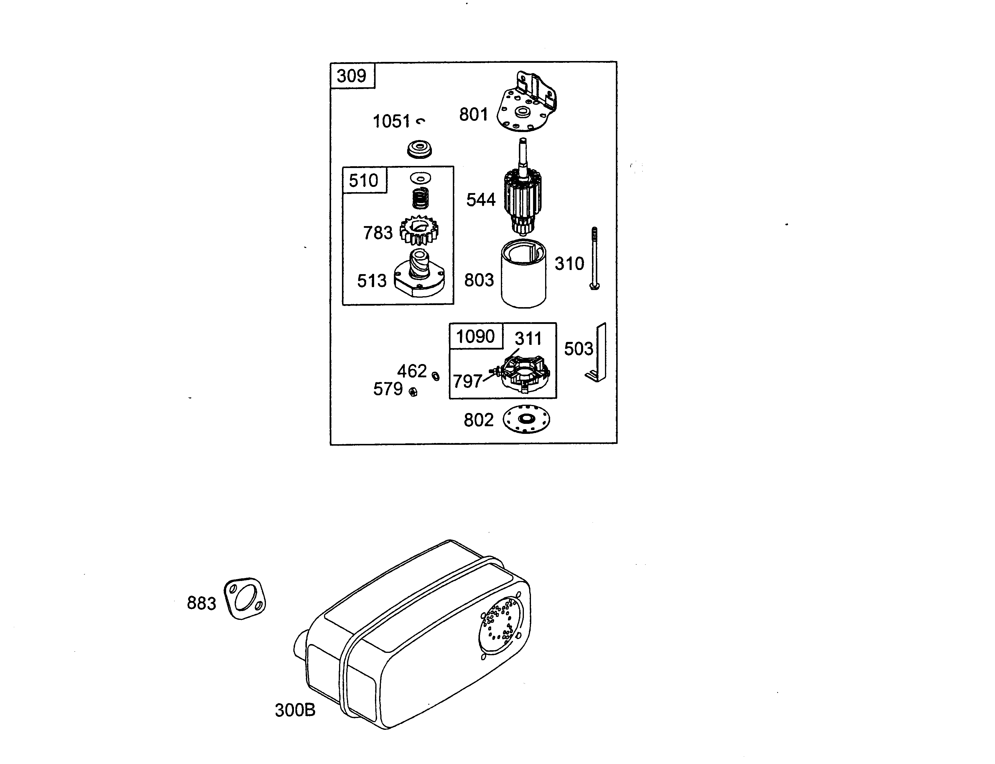
Pos.
Bezeichnung
Ersatzteilnummer
300B
Schalldämpfer
1001 339
309
Elektr. Anlasser kpl.
1001 085
310
Bolzenschraube
1001 192
311
Kohle-Bürsten-Satz
1002 015
462
Scheibe
1001 402
503
Spannband
1001 334
510
Antrieb
1001 049
513
Kupplung
1001 472
544
Anker
1001 423
579
Mutter
1001 199
783
Zahnrad
1001 188
797
Mutter
1002 404
801
Flansch
1002 402
802
Kappe
1001 404
883
Dichtung-Auslass
1001 347
1051
Sicherungsring
1001 403
1090
Kohlenhalterplatte kpl.
1001 083
Gebrauchsanweisungen
Wolf
Handgeräte
Heckenscheren
Universalscheren
Handgrasscheren
Astscheren
Baumscheren
Baumpflege
Beleuchtungssysteme
Accuscheren
Häcksler
Sägen
Trimmer
Spindelmäher
Streuwagen / Portax
Schlauchwagen
Vertikutierer / Lüfter / Aerifizierer
Mäher
Aufsitzmäher
Benzinmotoren
Tecumseh
Briggs & Stratton
Quattro
Quantum
Diamond
Diamond I/C OHV ( 2001 / 1001000- )
Diamond I/C OHV ( 2004 / 1001000- )
Kurbelgehäuse (1001000-2004-1)
Zylinderkopf, Ventile (1001000-2004-2)
Ölwanne, Nockenwelle (1001000-2004-3)
Kurbelwelle, Pleuel, Kolben (1001000-2004-4)
Vergaser (1001000-2004-5)
Zündung, Regelung (1001000-2004-6)
Lüfterhaube, Schwungrad (1001000-2004-7)
Elektr. Anlasser, Schalldämpfer (1001000-2004-8)
Dichtungssätze (1001000-2004-9)
Intek
Sprint
Classic
Honda
Kawasaki
Zubehör
Impressum
(C) by motoruf