Zurück zu
>
Accuscheren
>
SP / SB
>
SP 45 ( 2005 / 7084001-B - D )
>
Drehkopf, Messer, Motor (7084001b-d-2005-3)
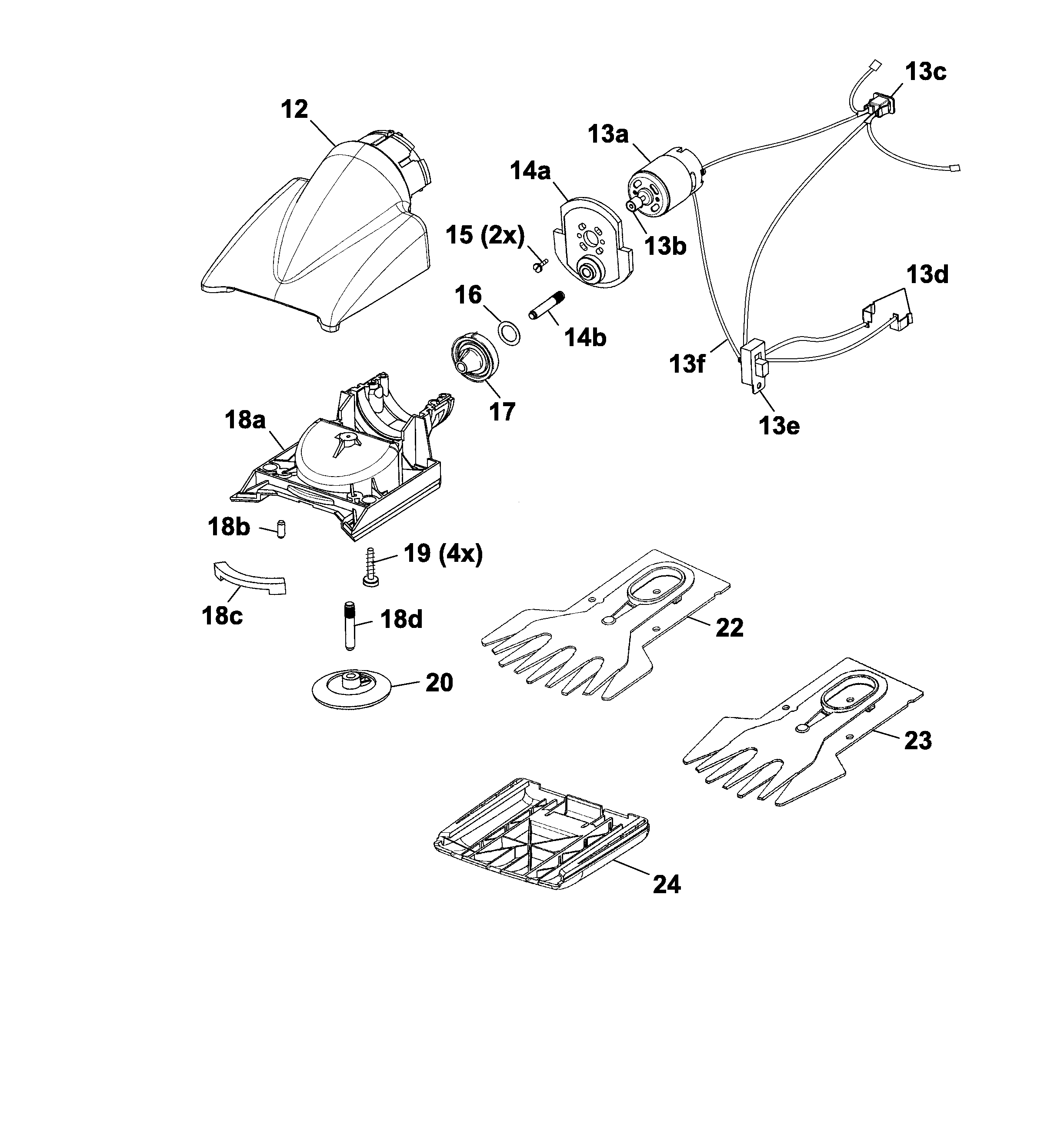
Ersatzteillisten für Wolf Accuscheren Drehkopf, Messer, Motor (7084001b-d-2005-3)
Pos.
Bezeichnung
Ersatzteilnummer
12
Haube
7086 331
***
Motor, kpl. 3,6-4,8 V
7084 026
***
Motorplatte kpl.
7086 910
15
Zylinderschr. M2, 6x6
0012 229
16
Scheibe Ø10+Ø16+0,3
0017 042
17
Stirnrad
7086 313
18c
Dichtleiste
7086 318
***
Getriebegehäuse kpl.
7086 913
19
PT-Schraube
0012 625
20
Tellerrad
7086 312
22
Scherenblatt (Accu 10 EM) *
7085 095
23
Scherenblatt (Accu 8 EM) *
7084 095
24
Gleitkufe *
7086 311
***
Ladegerät
7086 076
***
Gebrauchsanweisung
0054 444
Gebrauchsanweisungen
Wolf
Handgeräte
Heckenscheren
Universalscheren
Handgrasscheren
Astscheren
Baumscheren
Baumpflege
Beleuchtungssysteme
Accuscheren
Accu
SP / SB
SP 75 (F) ( 2003 / 7086001-A )
SP 45 (F) ( 2003 / 7084001-A )
SP 45 ( 2005 / 7084001-B - D )
Datenblatt (7084001b-d-2005-1)
Gehäuse, Schalter, Räder (7084001b-d-2005-2)
Drehkopf, Messer, Motor (7084001b-d-2005-3)
SQ Teleskopstiel (7095001b-d-2005-1)
SB 60 ( 2005 / 7087001-B - D )
SP 75 ( 2005 / 7086001-B - D )
SP 45 ( 2006 / 7084681-A )
SP 75 ( 2006 / 7086681-A )
Häcksler
Sägen
Trimmer
Spindelmäher
Streuwagen / Portax
Schlauchwagen
Vertikutierer / Lüfter / Aerifizierer
Mäher
Aufsitzmäher
Benzinmotoren
Zubehör
Impressum
(C) by motoruf