Zurück zu
>
Accuscheren
>
Accu
>
Accu 45 ( 2005 / 7084000-B - D )
>
Drehkopf, Messer, Motor (7084000b-d-2005-3)
Ersatzteillisten für Wolf Accuscheren Drehkopf, Messer, Motor (7084000b-d-2005-3)
Pos.
Bezeichnung
Ersatzteilnummer
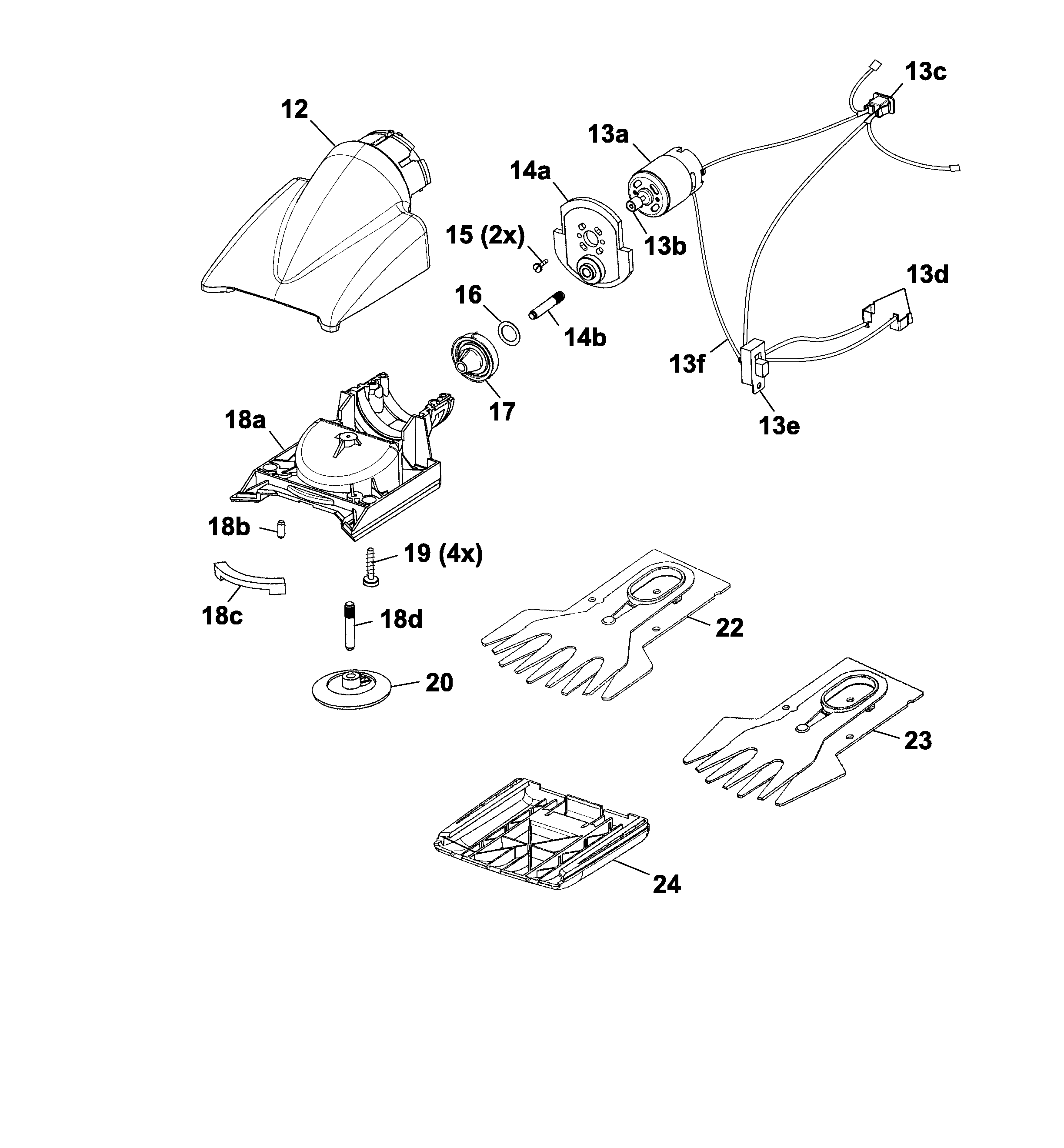
12
Haube
7086 330
***
Motor, kpl. 3,6-4,8 V
7084 026
***
Motorplatte kpl.
7086 910
15
Zylinderschr. M2, 6x6
0012 229
16
Scheibe Ø10+Ø16+0,3
0017 042
17
Stirnrad
7086 313
18c
Dichtleiste
7086 318
***
Getriebegehäuse kpl.
7086 911
19
PT-Schraube
0012 625
20
Tellerrad
7086 312
22
Scherenblatt (Accu 10 EM) *
7085 095
23
Scherenblatt (Accu 8 EM) *
7084 095
24
Gleitkufe *
7086 311
***
Ladegerät
7086 076
***
Gebrauchsanweisung
0054 444
Gebrauchsanweisungen
Wolf
Handgeräte
Heckenscheren
Universalscheren
Handgrasscheren
Astscheren
Baumscheren
Baumpflege
Beleuchtungssysteme
Accuscheren
Accu
Accu 45 ( 2002 / 7084000-A )
Accu 60 ( 2002 / 7085000-A )
Accu 75 ( 2002 / 7086000-A )
Accu BS 60 ( 2002 / 7087000-A )
Accu BS 45 ( 2002 / 7087005-A )
Accu 45 ( 2003 / 7084000-A )
Accu 45 Classic ( 2003 / 7084002-A )
Accu 60 ( 2003 / 7085000-A )
Accu 60 Comfort ( 2003 / 7085002-A )
Accu 75 ( 2003 / 7086000-A )
Accu 75 Professional ( 2003 / 7086002-A )
Accu BS 60 ( 2003 / 7087000-A )
Accu BS 60 Comfort ( 2003 / 7087002-A )
Accu BS 60 ( 2003 / 7087004-A )
Accu BS 45 ( 2003 / 7087005-A )
Accu 40 Standard ( 2003 / 7098005-A, B )
Accu 30 ( 2004 / 7082000-A )
Accu 40 ( 2004 / 7082006-A )
Accu BS 45 ( 2004 / 7089000-A )
Accu BS 50 ( 2004 / 7089080-A )
Accu 45 ( 2005 / 7084000-B - D )
Datenblatt (7084000b-d-2005-1)
Gehäuse, Schalter, Räder (7084000b-d-2005-2)
Drehkopf, Messer, Motor (7084000b-d-2005-3)
AC-TS Teleskopstiel (7095000b-d-2005-1)
Accu 45 Classic ( 2005 / 7084002-B - D )
Accu 45 ( 2005 / 7084090-B - D )
Accu 60 ( 2005 / 7085000-B - D )
Accu 60 Comfort ( 2005 / 7085002-B - D )
Accu 75 ( 2005 / 7086000-B - D )
Accu 75 Professional ( 2005 / 7086002-B - D )
Accu BS 60 ( 2005 / 7087000-B - D )
Accu BS 60 Comfort ( 2005 / 7087002-B - D )
Accu BS 60 ( 2005 / 7087004-B - D )
Accu BS 60 Comfort ( 2005 / 7087006-B - D )
Accu BS 60 ( 2005 / 7087008-B - D )
Accu 60 ( 2005 / 7087094-B - D )
Accu 60 ( 2006 / 7084680-A )
Accu 60 ( 2006 / 7084682-A )
Accu 80 ( 2006 / 7085680-A )
Accu 80 ( 2006 / 7085682-A )
Accu 100 ( 2006 / 7086680-A )
Accu 100 ( 2006 / 7086682-A )
Accu BS 80 ( 2006 / 7087686-A )
SP / SB
Häcksler
Sägen
Trimmer
Spindelmäher
Streuwagen / Portax
Schlauchwagen
Vertikutierer / Lüfter / Aerifizierer
Mäher
Aufsitzmäher
Benzinmotoren
Zubehör
Impressum
(C) by motoruf