Zurück zu
>
Benzinmotoren
>
Briggs & Stratton
>
Quattro
>
Quattro 40 ( 2056005-2003 )
>
Abdeckung, Starter (2056005-2003-8)
Ersatzteillisten für Wolf Benzinmotoren Abdeckung, Starter (2056005-2003-8)
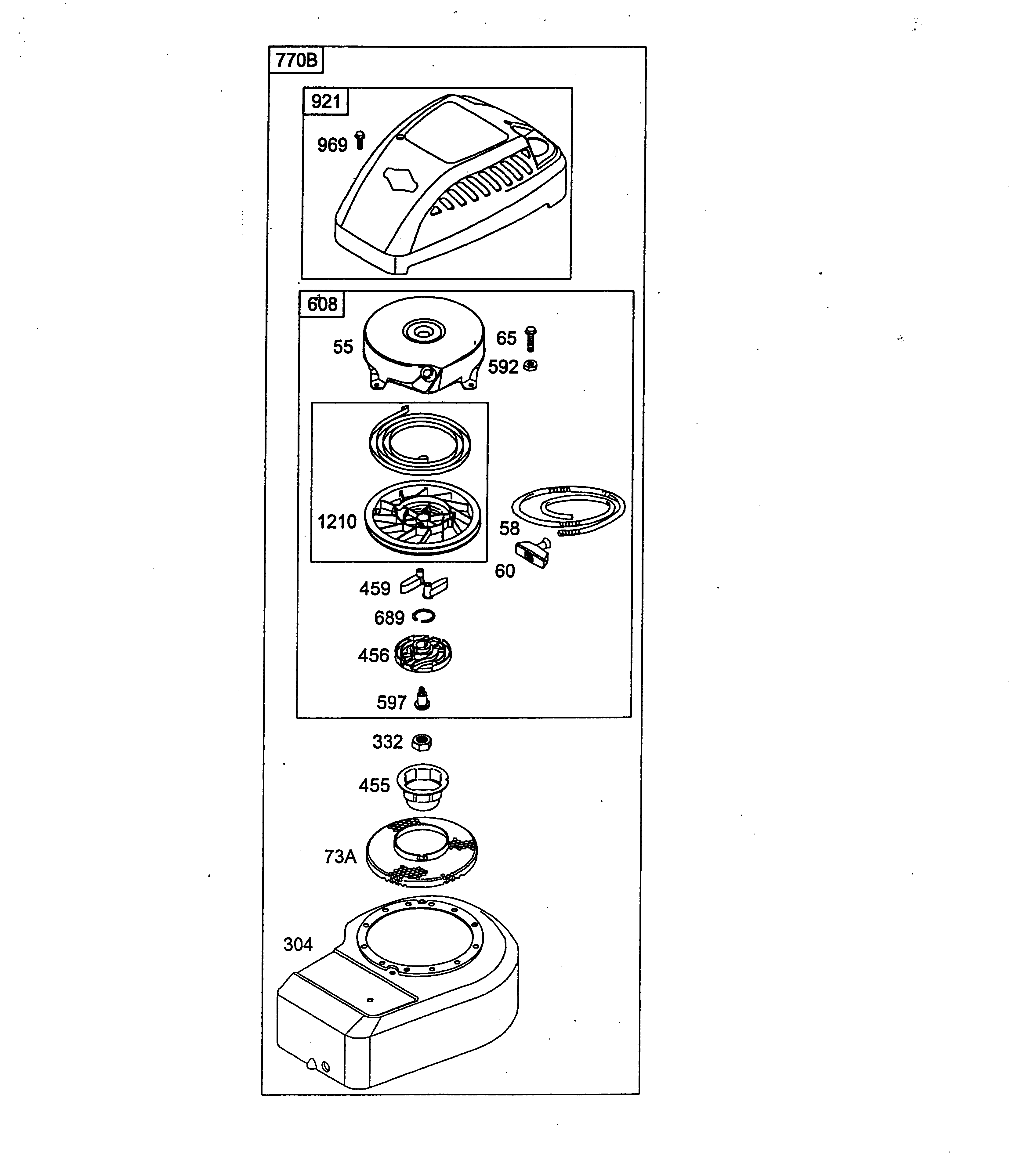
Pos.
Bezeichnung
Ersatzteilnummer
55
Startergehäuse
2056 121
58
Starterseil
2056 122
60
Handgriff
2056 123
65
Schraube
1001 158
73A
Fingerschutz
2056 300
304
Lüfterhaube
2056 311
332
Mutter
2056 312
455
Starterglocke
2056 303
456
Klinkenscheibe
2056 313
459
Halter
2069 302
592
Mutter
1001 156
597
Schraube
1034 438
608
Starter kpl.
2056 125
689
Sicherung
2056 185
770B
Lüfterhaube-Starter kpl.
2056 058
770A
Lüfterhaube-Starter kpl. (Nur Fabrik Nr. D.-5000-5498)
2056 059
921
Abdeckung
2056 188
969
Schraube
2056 189
1210
Seilscheibe kpl.
2056 127
Gebrauchsanweisungen
Wolf
Handgeräte
Heckenscheren
Universalscheren
Handgrasscheren
Astscheren
Baumscheren
Baumpflege
Beleuchtungssysteme
Accuscheren
Häcksler
Sägen
Trimmer
Spindelmäher
Streuwagen / Portax
Schlauchwagen
Vertikutierer / Lüfter / Aerifizierer
Mäher
Aufsitzmäher
Benzinmotoren
Tecumseh
Briggs & Stratton
Quattro
Quattro 40 ( 2001 / 2056000- )
Motor B&S Quattro 40 KAT (4006000a-2001-7)
Quattro 40 S ( 2002 / 2056060- )
Quattro 40 ( 2003 / 2056000- )
Quattro 40 ( 2056005-2003 )
Kurbelgehäuse (2056005-2003-1)
Kolben, Pleuel, Ventile (2056005-2003-2)
Kurbelwelle, Ölwanne (2056005-2003-3)
Vergaser, Tank (2056005-2003-4)
Regelung (2056005-2003-5)
Polrad, Zündspule, Bremse (2056005-2003-6)
Luftfilter, Schalldämpfer (2056005-2003-7)
Abdeckung, Starter (2056005-2003-8)
Dichtungssatz (2056005-2003-9)
Quattro 40 ( 2004 / 2056000- )
Quantum
Diamond
Intek
Sprint
Classic
Honda
Kawasaki
Zubehör
Impressum
(C) by motoruf