Zurück zu
>
Roth / TORO
>
Handgeräte
>
Schneefräsen
>
zweistufig
>
521
>
622/38054
>
2000001
>
Vergaser Nr. 632107A
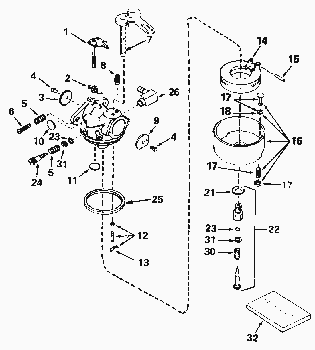
Ersatzteillisten für Toro Roth / TORO Vergaser Nr. 632107A
Pos.
Bezeichnung
Ersatzteilnummer
Screw Adjustment Assembly (Incl. Ref.
31839à
Drain Plunger Assembly (Incl. Ref.
27136A
Carburetor (Incl. Ref.
632107A
Inlet Needle-Seat & Clip (Incl. Ref.
631021à
Pos.
Bezeichnung
Ersatzteilnummer
1
Achse
631615
2
Feder
631767
3
Shutter, Throttle
631036
4
Schraube
650506
5
Feder
630766
6
Schraube
650417
7
Shaft & Lever Assy.-Choke
632108
8
Druckfeder
630735
9
Starterklappe
631815
10
Plug-Welch
630748à
11
Plug-Welch
631027à
13
Klemmfeder
631022
14
Schwimmer
632019
15
Shaft-Float
631024à
16
Schwimmergehaeuse
631951
18
Gasket-Bow Drain
27554à
21
Dichtung
27110
23
O Ring
630740à
24
Screw-Idle
631838à
25
Gasket-Bowl-to-Body
631028à
26
Nippel
631807
30
Spring, Adjustment Screw
630738
31
Scheibe
630739
32
Reparatursatz
31840
Gebrauchsanweisungen
Toro
Roth / TORO
Aufsitzmäher
Handgeräte
Kehrmaschinen
Schneefräsen
Zubehör
zweistufig
1332 PowerShift
1232 PowerShift
1132 PowerShift
1132
1028 PowerShift
924 PowerShift
828 PowerShift
824 PowerShift
824 XL
824
724
624 PowerShift
622
521
622/38054
6900001
5900001
4900001
3900001
2000001
Seiten-Schneidschiene Nr. 37-7020 (wahlw.)
Vergaser Nr. 632107A
Elektrostarter Motor Nr. 23-3790
Rücklaufstarter Nr. 590646
Motor Tecumseh (Modell HS50-67259K) (Fortsetzung)
Motor Tecumseh (Modell HS50-67259K)
Beleuchtungssatz Nr. 54-9822 (wahlw.)
Holm
Motor
Antrieb (Fortsetzung)
Antrieb
Trommel (Fortsetzung)
Trommel
1000001
0000001
622/38035
3521
einstufig
Sauger/Bläser
Rasenmäher
Robin
Impressum
(C) by motoruf