Zurück zu
motoruf
Warenkorb

Ersatzteillisten für Toro Roth / TORO Sitz & Seitenverkleidung




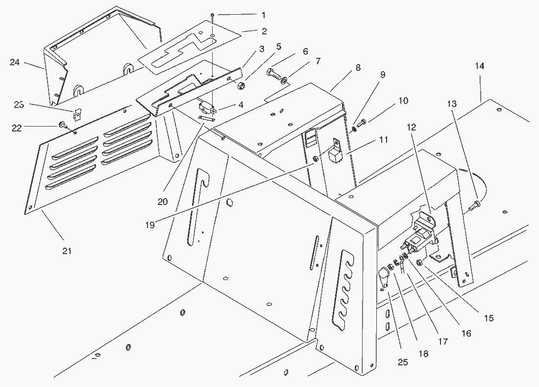
Ersatzteilliste


Pos.BezeichnungErsatzteilnummer
1Screw-Tapping147665
2Decal-Shift pattern93-7007
3Gate-Shift92-0895
4Schalter88-9930
5MUTTER3296-29
6Schraube322-5
7Scheibe3256-23
8Body W.A.-Seat Support92-0866
9Scheibe3256-14
10Schraube3290-134
11Schaltrelais116397
12Solenoid-Starter47-1910
13Schraube321-4
14Frame92-0860
15MUTTER3296-42
16Federring3253-3
17Pluskabel56-7670
18Mutter3218-1
19Mutter3296-2
20Mutter3290-354
21Panel-Seat Base, R.H.92-0877
22Schraube32144-112
23Mutter3290-191
24Abdeckung88-9800
25Schutzkappe93-3190
Gebrauchsanweisungen
Toro
Impressum
(C) by motoruf