Zurück zu
>
Roth / TORO
>
Aufsitzmäher
>
Traktor
>
13-38 HXL
>
392/71213
>
59000001
>
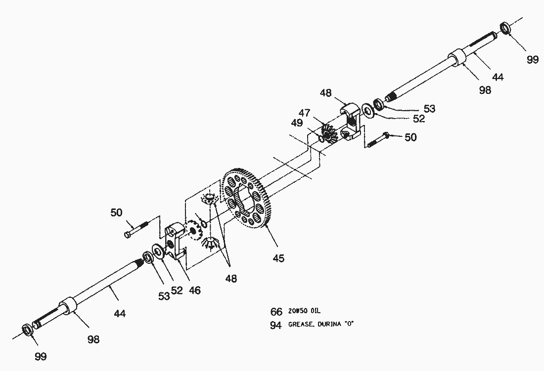
Hydraulik Getriebeachse Modell-Nr. 321-0500 (Fortsetzung)
Ersatzteillisten für Toro Roth / TORO Hydraulik Getriebeachse Modell-Nr. 321-0500 (Fortsetzung)
Pos.
Bezeichnung
Ersatzteilnummer
44
45
46
47
48
49
50
52
53
66
94
98
99
Gebrauchsanweisungen
Toro
Roth / TORO
Aufsitzmäher
Traktor
264-6
246 HE
244-5
212-H
212-5
17-44 HXLE
16-44 HXL
16-38 HXL
16-38 XLE
15-44 HXL
15-38 HXL
14-38 HXL
14-38 XL
13-38 HXL
392/71213
59100001
59000001
Motor (B&S Modell 28M707-0122-01)
Hydraulik Getriebeachse Modell 321-0500 (Fortsetzung)
Hydraulik Getriebeachse Modell-Nr. 321-0500 (Fortsetzung)
Hydraulik Getriebeachse Modell-Nr. 321-0500
Kabel & Abdeckung (38 Schneideinheit) Cable & Cover Assy. (38 Cutting Unit)
Bremse (38 Schneideinheit) Brake Assy. (38 Cutting Unit)
Gehäuse & Spindel (38 Schneideinheit) Housing & Spindle Assy. (38 Cutting Unit) (Model No. 71213 only)
Gehäuse & Spindel (38 Schneideinheit) Housing & Spindle (38 Cutting Unit) (Model No. 71191 only)
Schnitthöhe
Getriebeachse
Elektrik
Geschwindigkeitsbetätigung & Hinterrad
Motor
Kupplung
Lenkung
Vorderachse
Sitz
Rahmen
Haube
4900001
13-38 XL
13-32 XLE
12-38 HXL
12-38 XL
12-32 XL
264 H
265 H
267 H
268 H
270 H
520 xi
520 Lxi
523 Dxi
Rider
Mähwerke
Zubehör
Handgeräte
Robin
Impressum
(C) by motoruf