Zurück zu
>
Roth / TORO
>
Aufsitzmäher
>
Rider
>
11-32
>
375/70142
>
69000001
>
Gestänge
Ersatzteillisten für Toro Roth / TORO Gestänge
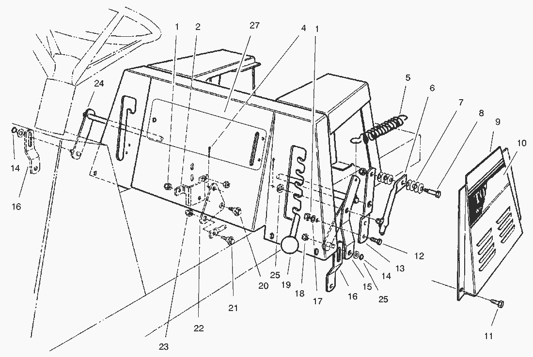
Pos.
Bezeichnung
Ersatzteilnummer
1
MUTTER
3296-29
2
Bracket-Bell Crank Mount
80-2310
4
Splint
3272-6
5
Spring-Extension
62-3930
6
Lever-Height-of-Cut
47-1850
7
Wellenscheibe
3290-413
8
Bolzen
28-0540
9
Panel L.H.-Base, Seat
92-0878
10
Namensschild
93-1194
11
Schraube
321-4
12
Schraube
322-5
13
Bracket-Height-of-Cut
47-1840
14
Sicherungsring
32151-61
15
Hebel
80-2321
16
Link-Suspension, Deck
63-5830
17
Scheibe
3256-23
18
MUTTER
3296-42
19
Knopf
233-48
20
Screw-Shoulder
19-1470
21
Bolt-Shoulder
65-5670
22
Schaltplatte
80-2360
23
Stopmutter
3296-8
24
Arm-Lever, H.O.C.
56-7400
25
Scheibe
3256-26
27
Klebeschild
92-7982
Gebrauchsanweisungen
Toro
Roth / TORO
Aufsitzmäher
Traktor
Rider
HMR 1600
12-32 E
12-32
11-32
375/70142
79000001
69000001
Motor B&S (Modell 28D707-0124-01)
Peerlesss Getriebeachse Modell-Nr. 915-019
Deflektor - Recycler
Mäher - Recycler (Fortsetzung)
Mäher - Recycler
Ständer
Hinterachse
Motor
Getriebegestänge
Sitz
Sitz & Seitenverkleidung
Gestänge
Lenkrad, Schalter & Schilder
Bremse & Kupplung
Vorderachse
Lenksäule
59000001
10-32 E
8-25
110-4E
110-4
Mähwerke
Zubehör
Handgeräte
Robin
Impressum
(C) by motoruf