Zurück zu
motoruf
Warenkorb

Ersatzteillisten für Toro Roth / TORO Auspuff




Ersatzteilliste


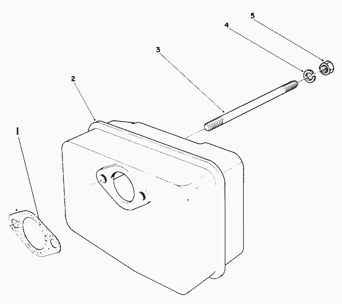
Pos.BezeichnungErsatzteilnummer
1DICHTUNG81-1080
2Auspuff81-0490
3Stehbolzen81-0500
4FEDERRING81-1120
5SECHSKANTMUTTER81-1110
Gebrauchsanweisungen
Toro
Impressum
(C) by motoruf