Dolmar TM9214H TM-92.14 H (2007) 4y GETRIEBE UND BREMSE ANTRIEB Ersatzteile
4y GETRIEBE UND BREMSE ANTRIEB TM-92.14 H (2007)

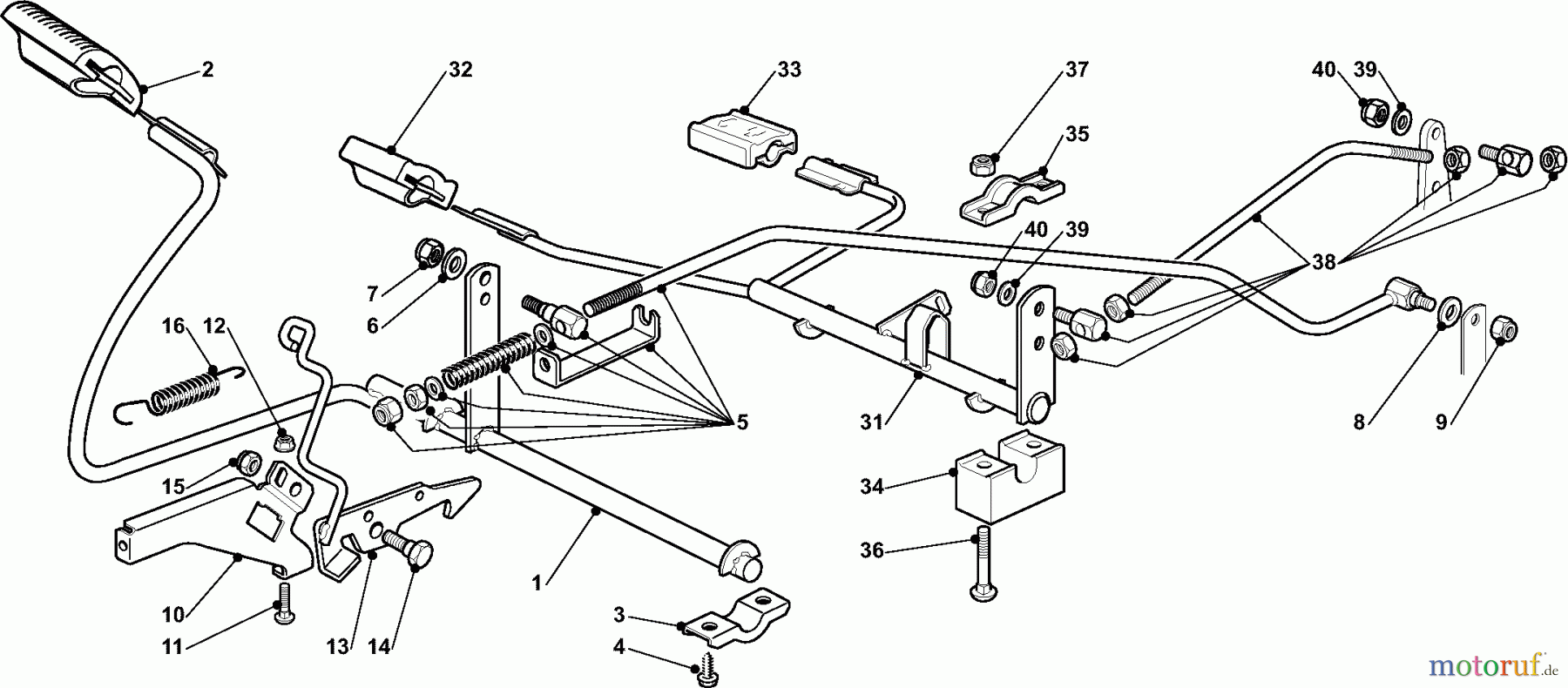
Hier finden Sie die Ersatzteilzeichnung für Dolmar Rasentraktoren TM9214H TM-92.14 H (2007) 4y GETRIEBE UND BREMSE ANTRIEB. Wählen Sie das benötigte Ersatzteil aus der Ersatzteilliste Ihres Dolmar Gerätes aus und bestellen Sie einfach online. Viele Dolmar Ersatzteile halten wir ständig in unserem Lager für Sie bereit.
| BildNr | Artikel Nummer | Bezeichnung | |
| 1 | 664999029 | PEDAL | |
| 2 | 664110267 | PEDALGUMMI | |
| 3 | 664546015 | PLATTE | |
| 4 | 664729601 | SCHRAUBE | |
| 5 | 664000542 | STANGE | |
| 6 | 664521350 | SCHEIBE | |
| 7 | 664155000 | MUTTER | |
| 8 | 664521350 | SCHEIBE | |
| 9 | 664155000 | MUTTER | |
| 10 | 664785261 | HALTER | |
| 11 | 664815200 | SCHRAUBE | |
| 12 | 664292102 | MUTTER | |
| 13 | 664000531 | STANGE | |
| 14 | 664524970 | BOLZEN | |
| 15 | 664155000 | MUTTER | |
| 16 | 664430213 | FEDER | |
| 31 | 664000383 | GETRIEBEPEDAL | |
| 32 | 664110274 | PEDALGUMMI | |
| 33 | 664110331 | PEDALGUMMI | |
| 34 | 664785185 | HALTER | |
| 36 | 664546015 | PLATTE | |
| 36 | 664815245 | SCHRAUBE | |
| 37 | 664154510 | MUTTER | |
| 38 | 664000543 | STANGE | |
| 39 | 664523040 | SCHEIBE | |
| 40 | 664154510 | MUTTER | |


Qualitätsmanagement
Informieren Sie uns, wenn Sie einen Fehler gefunden haben.

