Jonsered HT2124 (HT2124T) - Hedge Trimmer (2007-01) MUFFLER #2 Ersatzteile
MUFFLER #2 HT2124 (HT2124T) - Jonsered Hedge Trimmer (2007-01)

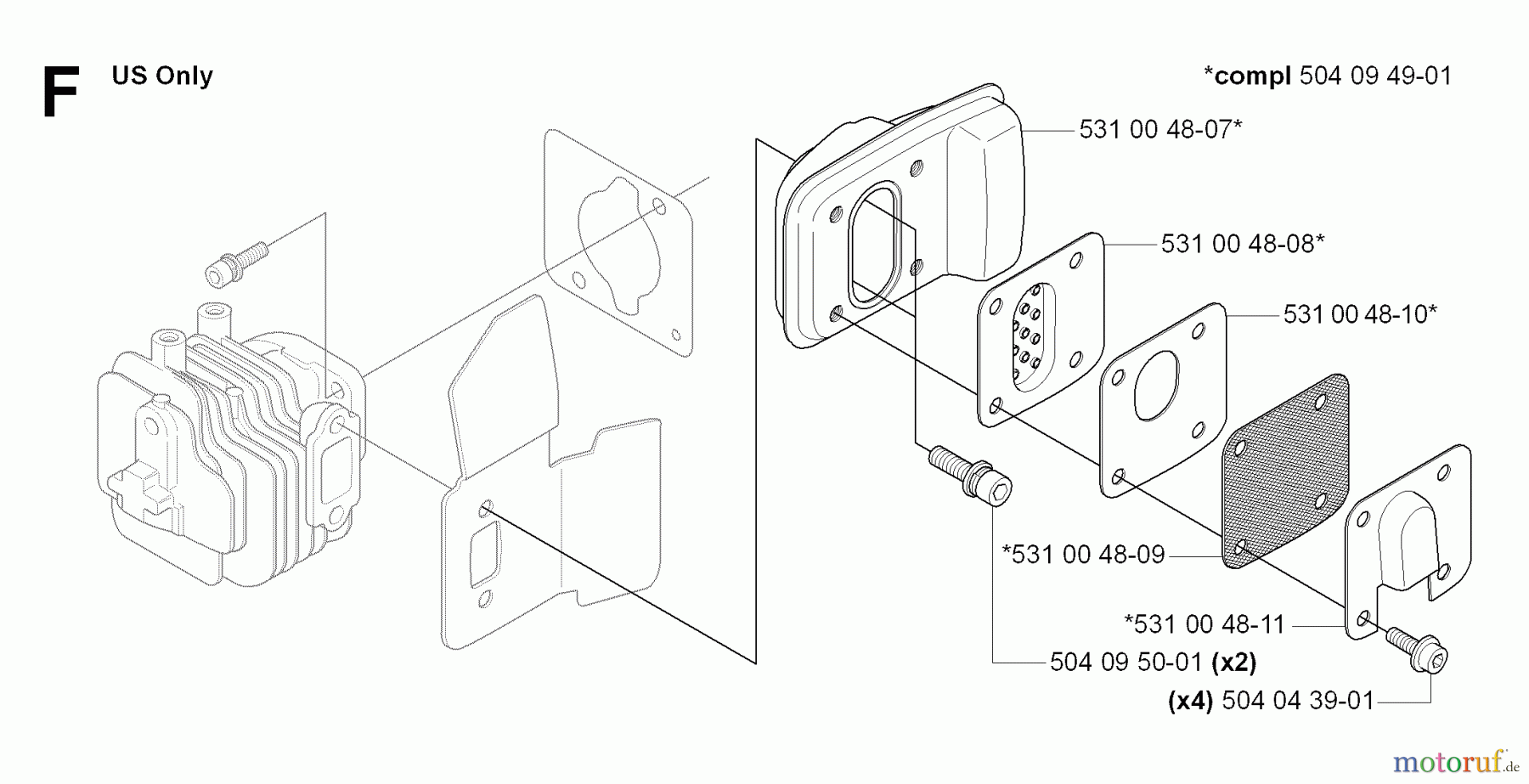
Hier finden Sie die Ersatzteilzeichnung für Jonsered Heckenscheren HT2124 (HT2124T) - Jonsered Hedge Trimmer (2007-01) MUFFLER #2. Wählen Sie das benötigte Ersatzteil aus der Ersatzteilliste Ihres Jonsered Gerätes aus und bestellen Sie einfach online. Viele Jonsered Ersatzteile halten wir ständig in unserem Lager für Sie bereit.
| BildNr | Artikel Nummer | Bezeichnung | |
| 5040949-01 | 504 09 49-01 | Schalldämpfer kpl. | |
| 5310048-07 | 531 00 48-07 | AUSPUFF | |
| 5310048-08 | 531 00 48-08 | BLECH | |
| 5310048-10 | 531 00 48-10 | DICHTUNG | |
| 5310048-09 | 531 00 48-09 | NETZ | |
| 5310048-11 | 531 00 48-11 | ABDECKUNG | |
| 5040950-01 | 504 09 50-01 | GEWINDESTIFT | |
| 5040439-01 | 504 04 39-01 | GEWINDESTIFT | |



