Einkaufswagen
Mein Konto

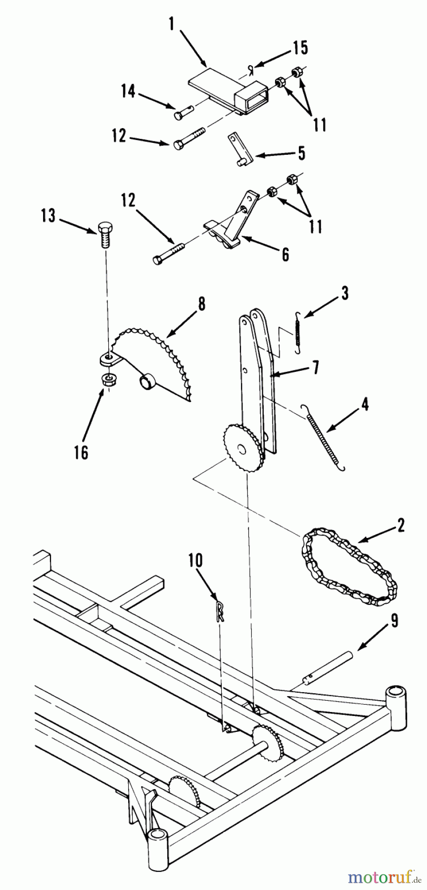
Toro Z1-18KE01 (718-Z) - 718-Z Tractor, 1986 MOWER HEIGHT CONTROL Ersatzteile

MOWER HEIGHT CONTROL Z1-18KE01 (718-Z) - Toro 718-Z Tractor, 1986

 Toro Neu Mowers, Zero-Turn Z1-18KE01 (718-Z) - Toro 718-Z Tractor, 1986 MOWER HEIGHT CONTROL

Hier finden Sie die Ersatzteilzeichnung für Toro Neu Mowers, Zero-Turn Z1-18KE01 (718-Z) - Toro 718-Z Tractor, 1986 MOWER HEIGHT CONTROL. Wählen Sie das benötigte Ersatzteil aus der Ersatzteilliste Ihres Toro Gerätes aus und bestellen Sie einfach online. Viele Toro Ersatzteile halten wir ständig in unserem Lager für Sie bereit.

Rasen
Bankeinzug, MasterCard, Visa, American Express, PayPal, Nachnahme, Vorauskasse, Sofortüberweisung
Qualitätsmanagement
Informieren Sie uns, wenn Sie einen Fehler gefunden haben.