Einstellungen Computer

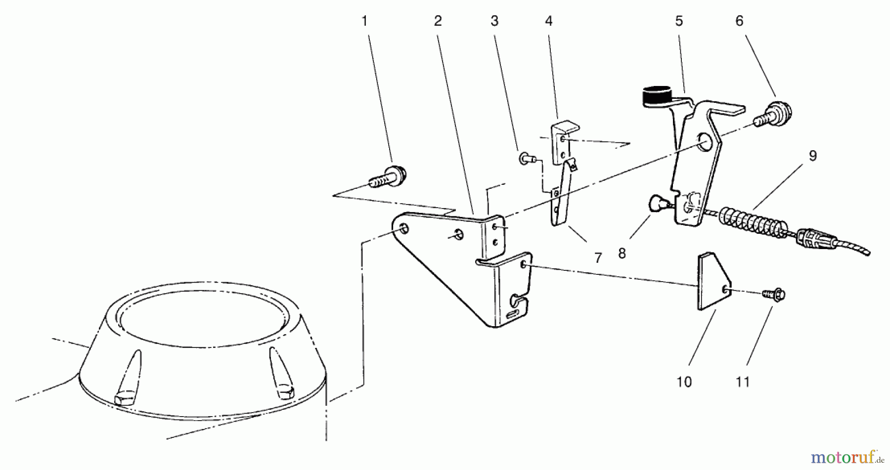
Toro 22026 - Side Discharge Mower, 2000 (200000001-200999999) BRAKE ASSEMBLY Ersatzteile

Abdeckung

Artikel Nummer:
TR53-4690
BildNr:
10
8.10 €
für EU incl. MwSt., zzgl. Versand
Anzahl:
Kontaktdaten Produktsicherheit
Der Artikel wurde in den Einkaufswagen gelegt!
yellow Wird für Sie bestellt: Lieferzeit ca. 5 Werktage.
 Toro Neu Mowers, Walk-Behind Seite 2 22026 - Toro Side Discharge Mower, 2000 (200000001-200999999) BRAKE ASSEMBLY

Hier finden Sie die Ersatzteilzeichnung für Toro Neu Mowers, Walk-Behind Seite 2 22026 - Toro Side Discharge Mower, 2000 (200000001-200999999) BRAKE ASSEMBLY. Wählen Sie das benötigte Ersatzteil aus der Ersatzteilliste Ihres Toro Gerätes aus und bestellen Sie einfach online. Viele Toro Ersatzteile halten wir ständig in unserem Lager für Sie bereit.

Rasen
Bankeinzug, MasterCard, Visa, American Express, PayPal, Nachnahme, Vorauskasse, Sofortüberweisung
Datenschutzerklärung Impressum
Qualitätsmanagement
Informieren Sie uns, wenn Sie einen Fehler gefunden haben.