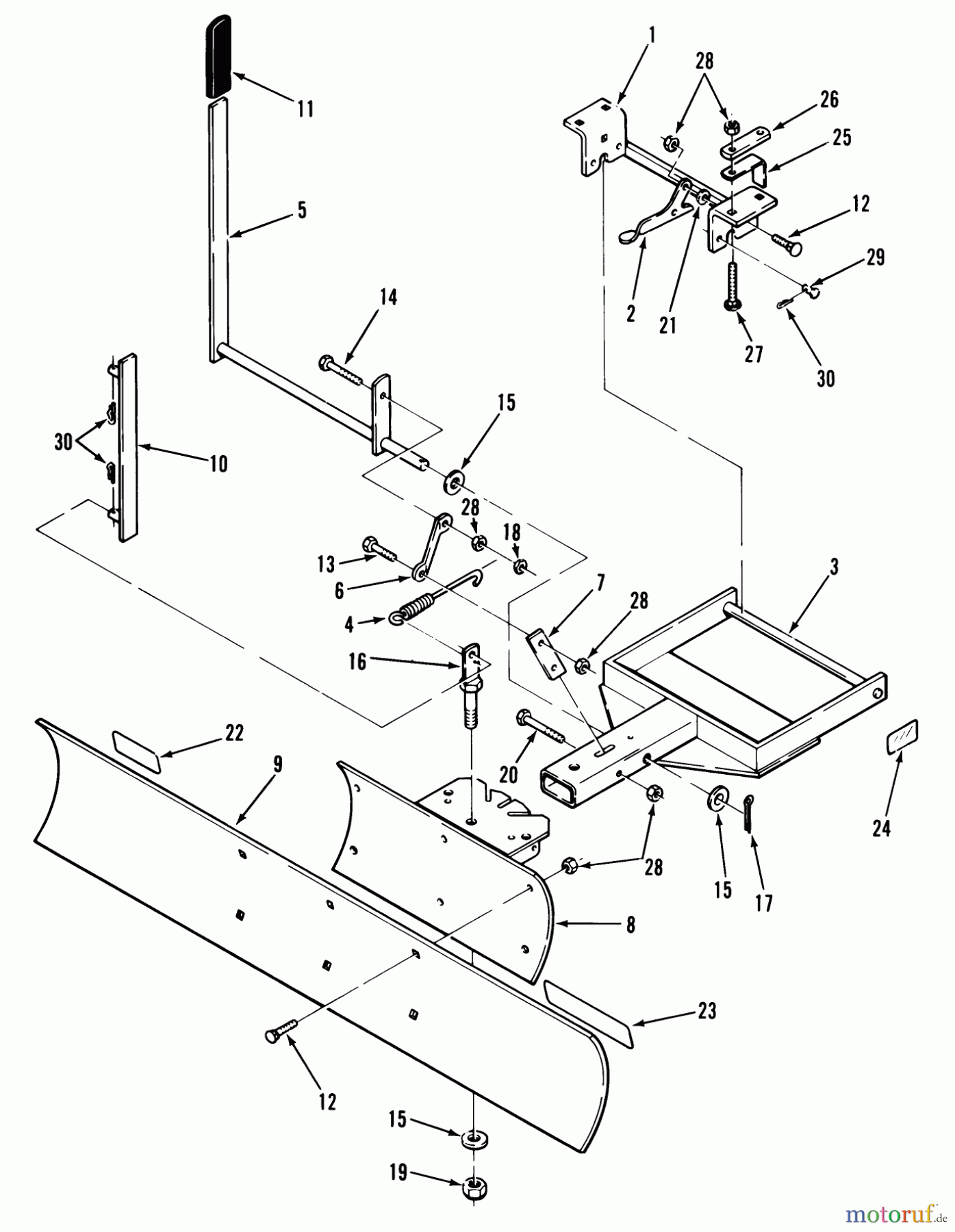
Toro 07-50BM02 - 50" Grader Blade, 1987 MID-MOUNT GRADER BLADE-50" (127 CM) VEHICLE IDENTIFICATION NUMBER 07-50BM02 Ersatzteile
Artikel Nummer:
TR32-9639
BildNr:
28
4.89 €
für EU incl. MwSt., zzgl. Versand
Der Artikel wurde in den Einkaufswagen gelegt!
Wird für Sie bestellt: Lieferzeit ca. 5 Werktage.
Hier finden Sie die Ersatzteilzeichnung für Toro Neu Accessories 07-50BM02 - Toro 50" Grader Blade, 1987 MID-MOUNT GRADER BLADE-50" (127 CM) VEHICLE IDENTIFICATION NUMBER 07-50BM02. Wählen Sie das benötigte Ersatzteil aus der Ersatzteilliste Ihres Toro Gerätes aus und bestellen Sie einfach online. Viele Toro Ersatzteile halten wir ständig in unserem Lager für Sie bereit.


Qualitätsmanagement
Informieren Sie uns, wenn Sie einen Fehler gefunden haben.



