Snapper 4112X6ST - 41" Rear-Engine Rider, 12HP, Extra Tough Series 6 Deck, Cover, Blade Brake Ersatzteile
Artikel Nummer:
BS7015475
BildNr:
14
Nicht mehr lieferbar.

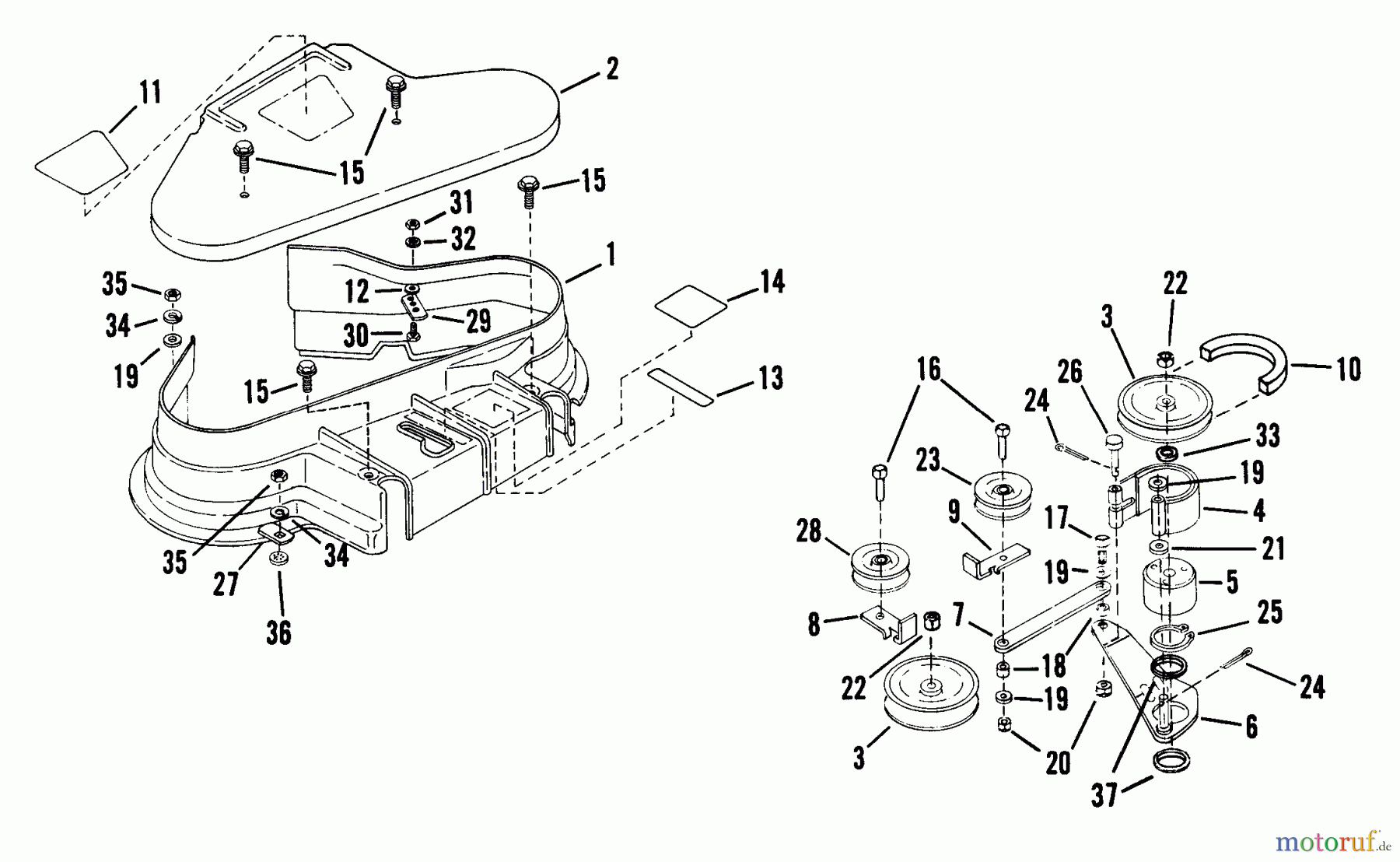
Hier finden Sie die Ersatzteilzeichnung für Snapper Reitermäher 4112X6ST - Snapper 41" Rear-Engine Rider, 12HP, Extra Tough Series 6 Deck, Cover, Blade Brake. Wählen Sie das benötigte Ersatzteil aus der Ersatzteilliste Ihres Snapper Gerätes aus und bestellen Sie einfach online. Viele Snapper Ersatzteile halten wir ständig in unserem Lager für Sie bereit.


Qualitätsmanagement
Informieren Sie uns, wenn Sie einen Fehler gefunden haben.


