Zurück zu
>
Mäher
>
Benzin
>
Antrieb ab 43 cm
>
Moto-Verte
>
50A Pro ( 1999 / 6065000-A )
>
FC 180 V ( 1999 / 2096080- )
>
Regler (2096080-1999-5)
Ersatzteillisten für Wolf Mäher Regler (2096080-1999-5)
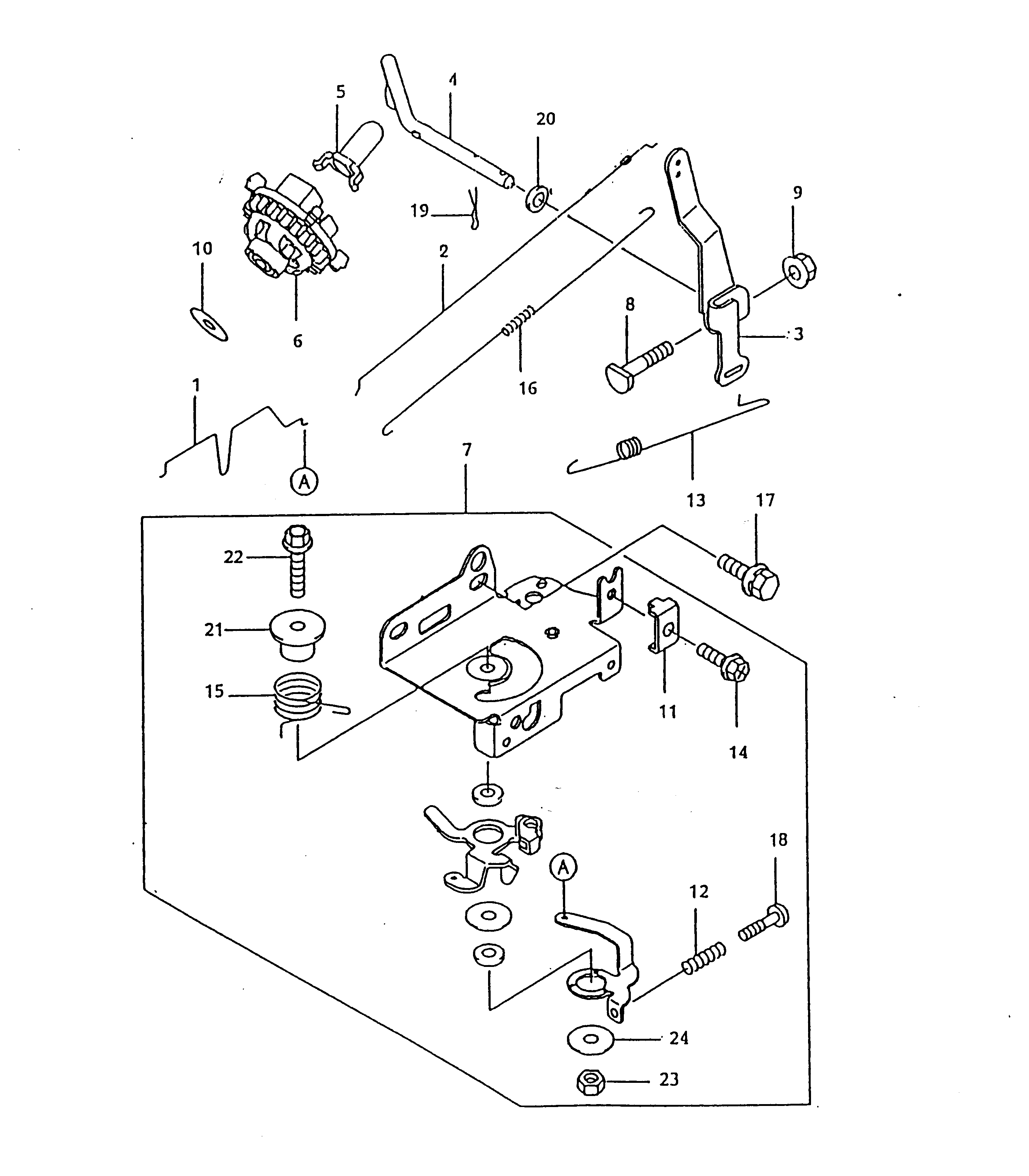
Pos.
Bezeichnung
Ersatzteilnummer
1
Gelenk
2096 108
2
Gelenk
2096 109
3
Hebel
2096 110
4
Hebelarm
2096 111
5
Buchse
2090340
6
Regler
2096 112
7
Steuereinheit kpl.
2096 061
8
Schraube
2090 333
9
Mutter
2090 334
10
Scheibe
2090341
11
Klemme
2090 329
12
Feder
2095 323
13
Feder
2096 303
14
Schraube
2090 330
15
Feder
2096 304
16
Feder
2096 305
17
Schraube
2090 331
18
Schraube
2090 324
19
Klemmstift
2090 337
20
Scheibe
2095 338
21
Muffe
2096 202
22
Schraube
2096 203
23
Mutter
2096 204
24
Scheibe
2096 205
Gebrauchsanweisungen
Wolf
Handgeräte
Heckenscheren
Universalscheren
Handgrasscheren
Astscheren
Baumscheren
Baumpflege
Beleuchtungssysteme
Accuscheren
Häcksler
Sägen
Trimmer
Spindelmäher
Streuwagen / Portax
Schlauchwagen
Vertikutierer / Lüfter / Aerifizierer
Mäher
Accu
Benzin
Schiebe bis 42 cm
Schiebe ab 43 cm
Antrieb bis 42 cm
Antrieb ab 43 cm
2er
4er
6er
Moto-Verte
50AH Pro ( 1998 / 6067000-A )
50A Pro ( 1999 / 6065000-A )
Datenblatt (6065000a-1999-1)
Mähgehäuse (6065000a-1999-2)
Führungsholm (6065000a-1999-3)
Fahrantrieb (6065000a-1999-4)
FC 180 V ( 1999 / 2096080- )
Kurbelgehäuse, Zylinderkopf (2096080-1999-1)
Kurbelwelle, Kolben (2096080-1999-2)
Ventile, Nockenwelle (2096080-1999-3)
Vergaser (2096080-1999-4)
Regler (2096080-1999-5)
Schwungrad, Zündanlage (2096080-1999-6)
Tank (2096080-1999-7)
Lüfterfilter, Auspuff (2096080-1999-8)
Starter (2096080-1999-9)
Concept
Premio
Power Edition
Esprit
Sonstige
Elektrostart / Touch&Mow
Elektro
Aufsitzmäher
Benzinmotoren
Zubehör
Impressum
(C) by motoruf