Zurück zu
>
Roth / TORO
>
Handgeräte
>
Sauger/Bläser
>
4-Takt
>
911/62925
>
220000001
>
Antrieb
Ersatzteillisten für Toro Roth / TORO Antrieb
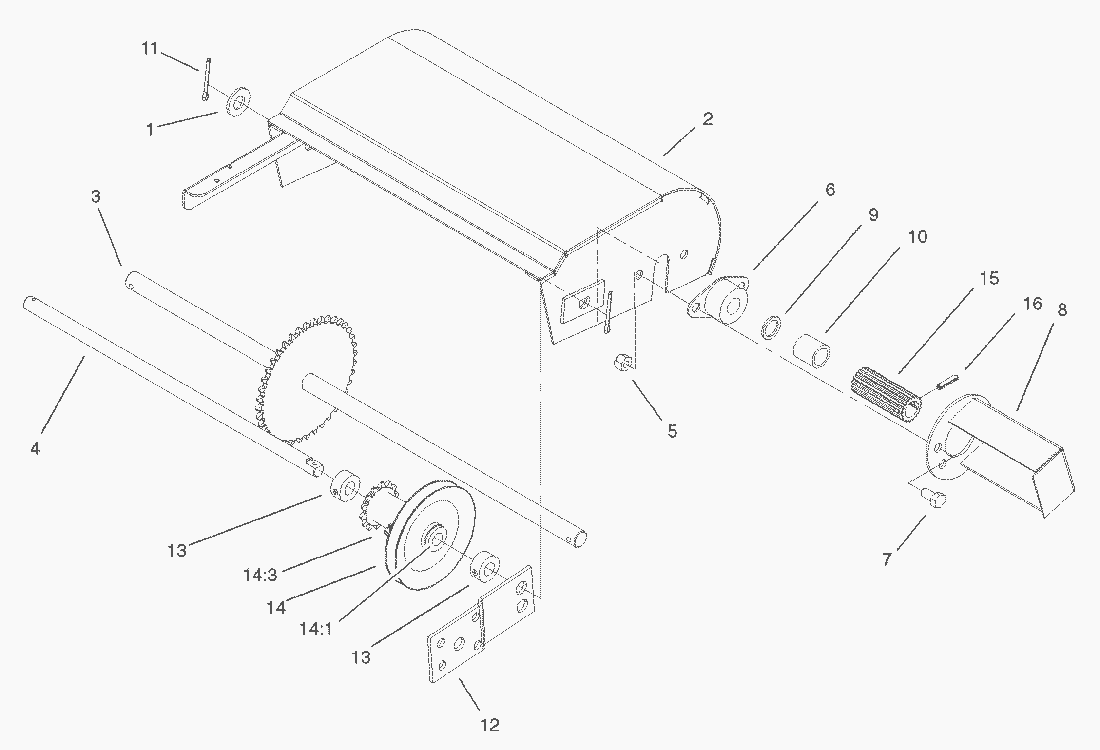
Pos.
Bezeichnung
Ersatzteilnummer
1
Scheibe
3256-26
2
Schutzdeckel
93-8461-03
3
Zwischenwelle
20-7270
4
Welle
20-5870
5
MUTTER
3296-29
6
Bearing-Flange
106-2780
7
Schraube
322-2
8
Schutzvorrichtung
37-9210-03
9
Scheibe
7-3590
10
Buechse
20-5460
11
Stift
3272-7
12
Halter
43-6830-03
13
Stellring
20-5950
14
Riemenscheibe
20-6000
141
Buechse
256-105
143
Schmiernippel
302-5
15
Antriebsrolle
20-5960
16
Stift
32121-4
Gebrauchsanweisungen
Toro
Roth / TORO
Aufsitzmäher
Handgeräte
Kehrmaschinen
Schneefräsen
Sauger/Bläser
4-Takt
911/62925
220000001
Vergaser Reparatur-Satz (Motor B&S Modell 126402-0245-E1)
Dichtungssatz (Motor B&S Modell 126402-0245-E1)
Ölfilter, Rohr & Pumpe (Motor B&S Modell 126402-0245-E1)
Starter (Motor B&S Modell 126402-0245-E1)
Gebläsegehäuse (Motor B&S Modell 126402-0245-E1)
Regler (Motor B&S Modell 126402-0245-E1)
Auspuff & Kraftstofftank (Motor B&S Modell 126402-0245-E1)
Luftfilter (Motor B&S Modell 126402-0245-E1)
Vergaser (Motor B&S Modell 126402-0245-E1)
Kurbelgehäuse (Motor B&S Modell 126402-0245-E1)
Zylinderkopf (Motor B&S Modell 126402-0245-E1)
Kurbelwelle (Motor B&S Modell 126402-0245-E1)
Zylinder (Motor B&S Modell 126402-0245-E1)
Holm & Fangkorb
Antrieb
Antrieb & Rad
Motor & Radhalterung
Bläser
Saugdüse, Bläser & Gebläse
210000001
911/62924
911/62923
Elektro
Rasenmäher
Robin
Impressum
(C) by motoruf